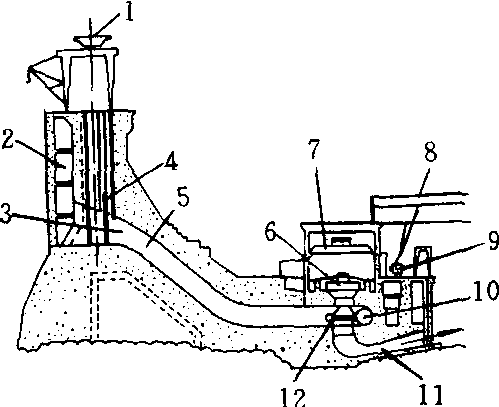
堤坝式水电站hydroelectric station with dam用闸坝拦截河流,抬高上游水位以形成水头的水电站。按厂房位置分为河床式(图1)和坝后式(图2)两种。河床式水电站建筑物常由挡水的非溢流坝段、溢流坝段及厂房组成,有的还有其他部门用的建筑物。这种电站通常适用于水头小于30~40 m。当水头更高时,厂房已不适于承受上游过大的水压力,宜采用坝后式水电站,其组成建筑物与河床式类似,但厂房不挡水,设于坝的下游侧。由深式进水口、压力管道、蜗壳、水轮机转轮和尾水管形成发电水流的通道。 
图1 河床式水电站 1.起重机 2. 主机房 3.发电机 4. 水轮机 5.蜗壳 6.尾水管 7.水电站厂房 8. 尾水导墙 9. 闸门 10. 桥 11. 混凝土溢流坝 12.土坝 13. 闸墩 
图2 坝后式水电站 1. 门式起重机 2. 栏污栅 3. 深式进水口 4. 闸门 5. 压力管道 6. 发电机 7. 桥式起重机 8. 输电线 9. 主变压器 10.蜗壳 11.尾水管 12.水轮机 堤坝式水电站dam-type power station |