网站首页  词典首页


请输入您要查询的字词:

 

字词 大腿假肢
类别 中英文字词句释义及详细解析
释义
大腿假肢

大腿假肢

大腿假肢适用于截肢平面在会阴下5cm至膝关节间隙上8cm左右的大腿截肢患者。大腿残肢应有足够的肌力和良好的杠杆作用,以支配假肢。大腿截肢患者装配假肢后,可以部分补偿下肢功能,如站立、短距离步行、轻体力劳动等。大腿假肢有传统大腿假肢和骨胳式大腿假肢。
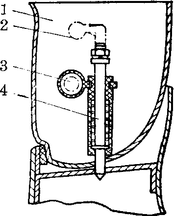
传统大腿假肢 由假脚、踝关节、小腿筒、膝关节、接受腔、腰带悬吊装置和髋铰链等部件组成(图1)。接受腔一般用铝板、木材或皮革制作,它是包容残肢、直接承受体重和支配假肢的重要部件。铝板质轻、易成型,但不耐汗液腐蚀; 木材和皮革透气性好,但木材加工比较困难,皮革不易清洗。传统大腿假肢接受腔,横截面近似圆形,上端大于下端,呈圆椎形。这种插入式接受腔很难做到以坐骨结节为主要承重部位,接受腔内壁上缘压迫会阴而疼痛; 同时,这种假肢的悬吊方法要利用腰带和内、外侧吊带,残肢过短时还需要使用髋铰链。髋铰链上链固定在腰带上,下链固定在接受腔的外侧。这种悬吊固定装置结构复杂,穿脱不方便,还影响患者的步态。传统铝大腿假肢采用铝膝关节(图2)。假肢膝关节的作用是在步行支撑阶段和站立时保持膝关节的稳定,在步行摆动阶段使小腿摆动自然。为了保持膝关节在支撑阶段的稳定,在膝关节上有防止过伸的挡块,有的还装有手动锁紧机构。带手动锁的膝关节,当患者站起、膝关节完全伸直时能自动锁住,患者坐下时需要用手开锁实现屈膝。这种膝关节适用于年老、体弱、残肢过短的患者,以及经常上下坡、行走在不平道路上的患者。使用带锁膝关节,支撑的稳定性可靠,但是步行中腿是僵直的,没有小腿的摆动,步态极不自然,患者也容易疲劳。踝关节和假脚参见“小腿假肢”条。


图1 传统大腿假肢


图2 铝膝关节
(A)带锁
(B)无锁


骨胳式大腿假肢 近年来出现的新型骨胳式大腿假肢,适用于肌肉比较丰满的大腿中段截肢患者。它由吸着式全接触接受腔、假肢关节、支撑管、调整机构、假脚和装饰外套等部件组成(图3)。这种假肢承重合理、穿着舒适、调整方便、外形逼真。骨胳式大腿假肢采用的吸着式全接触接受腔,首先按照残肢制取石膏模型,取型应在特制的承重取型架上进行。这样取出的石膏型制作的接受腔受力比较符合支撑阶段的实际情况。然后,按照制取的石膏模型,可采用带有增强材料的层压塑料;用抽真空成型的方法制作接受腔; 或者采用木材,用仿形铣床制作木质接受腔,层压塑料接受腔成形方便、强度高、易清洗,但吸湿性差、不易排汗;木质接受腔透项专门技术,它是假肢穿着合适与否的关键部件。大腿假肢接受腔的形状与残肢肌肉存在一定的关系,应能做到:
❶接受腔的前壁要把坐骨结节保持在接受腔上端的坐骨承受位置上,但不要妨碍髋关节屈肌、外展肌和内收肌群的运动。
❷接受腔内壁要起到保持残肢的内收位和侧向稳定性。
❸接受腔外壁在保持残肢内收位的同时,要最大限度地发挥髋关节外展肌的肌力,以达到稳定骨盆的作用。
❹接受腔后壁要利用坐骨结节和臀大肌来支承体重,利用后壁设置的屈曲角度来增加髋关节伸展肌的肌力和利用后壁与内壁之间的角度来使接受腔的扭转力矩均衡。吸着式全接触接受腔在内侧偏下安装一个单向排气阀门,穿假肢时接受腔内部的空气排出,形成一定的负压,从而去掉了腰带等固定悬吊装置,直接利用残肢与接受腔内壁的磨擦和负压使假肢悬挂于残肢上而不脱落。为了避免残端由于负压而造成肿胀,接受腔做成使其与残肢全面接触,但主要承重部位在坐骨结节部
位,这样可以通过增加接触面来获得稳定性并易于支配假肢,使患者产生一种假肢仿佛是长在自己腿上的感觉。此外,这种接受腔能有助于残肢的血液循环和起到某种按摩作用,对防止残肢肌肉萎缩和避免残端肿胀有一定益处。骨胳式大腿假肢采用可以包容在泡沫塑料装饰外套内的假肢膝关节和踝关节,假肢关节有多种规格,可按患者的情况选取。装饰外套是用高强度泡沫塑料按患者的健肢精确加工制作的。外套具有适当的弹性和柔软性,颜色接近肤色,外形逼真,女性患者完全可以穿裙子。骨胳式大腿假肢除接受腔需要因人而制外,其余部件都采用系列化的标准件,易于装配、维修和更换。尤其对于大腿截肢的儿童,由于支撑管的长度易于调整,可以随儿童身高的增加,随时增加支撑管的长度,使儿童的假肢高度适宜。


图3 骨胳式大腿假肢


膝关节:是人体中最复杂的一个关节,大腿假肢中使用的膝关节有不同的种类,其功能和结构都有所不同。除传统大腿假肢中使用的铝膝关节外,通常还有三类:
❶带有姿态控制的单轴膝关节。
❷模拟人体正常膝关节的多中心膝关节和
❸带有液压或气动机构的膝关节。承重自锁膝关节(图4)是骨胳式大腿假肢中常用的一种带有姿态控制的单轴膝关节。在站立和支撑阶段,当体重传递到膝关节上时,制动机构可以阻止膝关节屈曲,从而保证膝关节的稳定性; 而在摆腿阶段,制动机构松开,允许小腿摆动。为了调整小腿摆动节拍,使其与健肢相一致,可以调节膝轴与轴套间的间隙,将磨擦力控制在合适的范围之内。此外,膝关节中还带有伸展辅助装置,其作用是加速小腿的摆动和增加膝伸展时的稳定性。有的膝关节还装有极位缓冲装置,以减少冲击。多中心膝关节按照瞬时相对转动中心轨迹与人体正常膝关节的实际相对转动中心轨迹相拟合来设计,一般多采用四连杆结构(图5)。这种结构的膝关节,在膝关节伸直时,有良好的稳定性,屈膝时又具有良好的灵活性。其转动中心位置较高,因此适于残肢过长的患者使用。带有液压或气动装置的膝关节,其基本工作原理是采用液压或气动阻尼装置,来控制膝关节在伸展位的稳定性和小腿的摆动节律。但这类膝关节结构比较复杂,重量大,成本也较高。


图4 承重自锁单轴膝关节


图5 四连杆多中心膝关节


大腿假肢对线: 正确的假肢对线能做到承重合理、步态稳定和减少能量消耗。对线分静态对线和动态对线两个步骤进行。静态对线首先在专门的平衡定位仪上确定接受腔的初始屈曲角和最大内收角,并且用双锤线坠在接受腔上画出基准线。一般说来,接受腔的初始屈曲角度与残肢的长度有关(图6),残肢较长时初始屈曲角较小,残肢较短时初始屈曲角较大。然后,根据接受腔上的基准线在专门的三维对线装配仪上组装假肢。根据经验数据和患者的情况,合适地确定假脚、踝关节、膝关节与接受腔的相对位置。一般情况,在矢状面上膝关节轴处于承重线后15mm~25mm,踝关节轴位于承重线的正下方; 在额状面上,膝关节轴和假脚有稍许外旋,外旋量在5°~10°之间(图7)。膝关节中抬脚越困难,因此要视患者的情况适当选择为宜。在对线装配仪上装配合适的假肢,由患者试穿,进行动态对线。动态对线可利用调整装置,调整装置一般都具有前后、左右移动和在矢状面、额状面上倾斜的功能。通过动态对线,可以进一步做到承重合理、步态正常和穿着舒适。


图6 大腿假肢接受腔的初始屈曲角度


图7 大腿假肢装配对线

☚ 小腿假肢   髋关节离断假肢 ☛

大腿假肢

大腿假肢

大腿假肢,适用于会阴下5cm至膝关节间隙上8cm范围内大腿截肢病人。大腿截肢后功能丧失很多,装配假肢较难,但仍可代偿部份下肢功能,如站立、短距离步行、轻体力劳动等。
装配大腿假肢时,由于残肢长度及肌肉力量不同,接受腔、膝关节结构、对线要求和悬吊装置也不同。大腿假肢的主要结构如下(图1):
(1)假脚和踝关节: 见“小腿假肢”条目。
(2)膝关节: 大腿假肢膝关节结构种类较多。其主要作用是在步行支撑期能保持膝关节稳定,在摆动期使小腿摆动自然。目前大腿假肢仍然多采用单轴膝关节(图2)。为了保持膝关节支撑稳定,首先要在膝关节设置阻止块或阻止带,阻止膝关节过伸。其次是防止步行中膝关节的突然屈曲。最简单的方法是在单轴膝关节上设置膝关节锁(图3)。当病人站起、膝关节完全伸直时自动锁住,病人坐下时用手开锁。这类膝关节适用于年老、体弱、残肢非常短的病人,和经常上下坡、行走在不平道路的病人。使用膝关节锁,支撑稳定性可靠,但是步行中腿是僵直的,没有小腿摆动,步态很不自然,病人也容易疲劳。近年研制出若干种新的大腿假肢,步行中既能在支撑期有效地锁住膝关节,又能在摆动期允许小腿摆动。

图1 大腿假肢

1. 腰带悬吊装置 2. 残肢接受腔 3. 膝关节 4. 踝关节 5. 假脚

图2 单轴膝关节(无锁)

1. 膝盖 2. 膝轴 3. 小腿

图3 单轴设锁膝关节(剖示图)

1. 膝盖 2. 锁提把3. 膝轴 4. 锁杆
这类假肢的膝关节可分三种:
❶摩擦稳定膝关节,是在单轴膝关节上附加摩擦制动器。当支撑期,体重传至膝关节,使制动器的两个接触面接触,靠摩擦阻力阻止膝关节运动,而当摆动期,由于弹簧作用使制动器的接触面分开,允许膝关节运动。
❷多轴心膝关节,是模拟人体正常膝关节屈伸运动中瞬时轴心移动的轨迹设计的。多采用机械结构中的四连杆结构。在膝关节伸直位,体重使膝关节具有良好的稳定性。
❸液压或气压稳定膝关节,它们的基本工作原理是设置有液缸或气缸,由活塞推动液体或气体通过一个孔,当孔由于假肢承重而封闭时,则阻止了活塞运动,制动了膝关节。
目前摆动期控制装置种类也很多,其主要作用有二:一是代偿股四头肌的作用,伸直膝关节。这对稳定膝关节和加速小腿摆动都是有用的。最简单的方法是在膝关节前安装松紧布或在膝内安装弹簧; 另一个作用是改变膝关节的摩擦阻力。在摆动期开始的时候增加膝关节摩擦阻力。有利于把来自大腿的向前摆动力量传到小腿,以改变小腿摆动速度,适应病人走路的习惯。走路快的病人应适当增加摩擦阻力。在摆动期的后期,增加膝关节摩擦阻力可以减少伸直膝关节时的冲击。液压或气压摆动控制装置常与液压或气压稳定膝关节合并使用。这类假肢功能好,但结构复杂,较重,成本高。
(3)接受腔: 在支撑期,接受腔直接承受体重; 摆动期则受残肢支配的向前运动。因此残肢接受腔既要有合理的承重部位,又要能最大限度地发挥残肢的力臂作用,但不能妨碍髋关节伸屈运动。接受腔上口通常呈近似扁方形(图4),后缘对应于坐骨结节处,略呈平面,使坐骨结节位于其上,为主要承重部位。前缘高至腹股沟,过高会妨碍髋关节屈曲。为了防止坐骨结节滑入接受腔内,接受腔上口的前后径应稍小于残肢相应部位的前后径。外缘达大转子,内缘比后缘略低。接受腔内有四个凹陷。前内侧凹陷容纳内收肌腱,后内侧凹陷容纳胭绳肌,前外侧及后外侧凹陷应向外呈弧形扩展,以免妨碍股直肌、臀大肌的功能。对压力敏感部位如会阴、内收肌腱处,不应因承重而引起疼痛和磨损皮肤。接受腔应与残肢全面接触,使其最大限度地发挥力臂作用。

图4 大腿假肢残肢接受腔形状与残肢肌肉关系示意图

1. 股直肌 2. 阔筋膜张肌3. 股外侧肌 4. 臀大肌 5.股中肌 6. 缝匠肌 7. 内收长肌 8. 内收短肌 9. 内收大肌 10. 股二头肌腱
(4) 悬吊固定装置: 有三类。
❶腰带悬吊,由腰带及悬吊带构成。悬吊带置于接受腔的两侧或前后,虽较复杂,但可靠。
❷吸着式悬吊,在残肢接受腔底部安装一个空气阀门,当接受腔承重时残肢略向下挤压,排出接受腔底部的空气;当提起假肢时,接受腔底部出现负压使假肢吸着在残肢上。这种假肢结构简单,使用方便,但接受腔内负压过大会引起残肢肿胀。当残肢周长减小时会引起假肢脱落。有时为了减少接受腔对残肢内侧面的压力,而配合使用一条骨盆带。
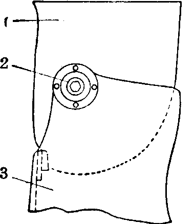
❸髋铰链悬吊,髋铰链上端固定在骨盆带上,下端固定在接受腔的外侧。适于残肢过短,肌肉麻痹或肌力弱的老年人使用(图5)。

图5 髋铰链


(5)大腿假肢对线: 是指装配假肢过程中校准、调整假脚、踝关节、膝关节与接受腔各部之间的位置关系。这是假肢装配中的重要步骤。正确的假肢对线不仅使站立稳定,步态自然、省力,而且使接受腔能够合适。对线首先是在装配仪或设有垂直线的平台上进行。矢状面上,以通过接受腔上口前后径的中点垂线为基准线,该垂线也应通过踝关节铰链轴心(图6)。冠状面上以通过坐骨结节承重部位的垂线为基准线 (图7)。在矢状面上,膝关节轴心在基准线之后的距离越大,稳定性越好,但步行中屈膝时引起的功能长度(接受腔坐骨承重处——脚尖) 增加也越多。在冠状面上要调整膝、踝横轴中点连线与基准线的距离,以保持假肢在地面上的支撑稳定。此外,还应保证残肢在接受腔内有一定的屈曲角度和适当减少外展角度,以便步行中充分发挥臀大肌和臀中肌的功能,增加膝关节的稳定和防止出现明显的跛行。

图6 大腿假肢对线(矢状面)α=屈髋角度

1. 前后径的中点 2,3,4.残肢纵轴线

图7 大腿假肢对线(冠状面)1,2,3. 为过坐骨结节的垂线


近代假肢装配,为了迅速而准确地调整假肢对线,采用了多种可以安装在残肢接受腔下方的调整装置。这类装置都具有前后、左右移动、内外旋转、各方向倾斜和升高降低接受腔的功能。病人穿上有调整装置的假肢在站立位,检查、调整假肢各部分之间的位置关系,叫作静态对线。在步行时,检查、调整,叫作动态对线。对线可用以纠正由于初期装配工作的误差所引起的各种异常姿式和步态。

图8 骨胳式大腿假肢


(6)骨胳式大腿假肢(图8): 采用类似骨胳的管状结构,是从立柱式临时性下肢假肢(pylon)发展来的新型假肢。它由各种标准化、系列化的假脚、铝合金管、机械膝关节和软泡沫塑料海绵下肢外形组合而成,外套肤色弹力袜。其外形、颜色近似健肢,部件基型少,装配容易,对线方便,可以缩短病人等候安装假肢的时间。缺点是目前使用软泡沫塑料海绵下肢,外形容易断裂。
☚ 小腿假肢   矫形器 ☛
00008492
随便看

 

离鸟网收录3541549条中英文词条,其功能与新华字典、现代汉语词典、牛津高阶英汉词典等各类中英文词典类似,基本涵盖了全部常用中英文字词句的读音、释义及用法,是语言学习和写作的有利工具。

 

Copyright © 2004-2024 vtrois.com All Rights Reserved
更新时间:2026/4/7 20:44:22