三缸气、液驱动连杆机构
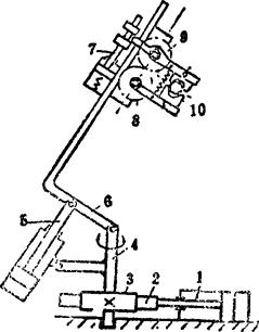
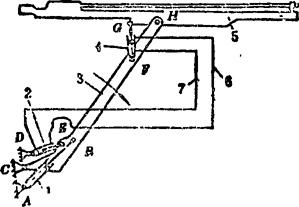
例5.2-257 多缸驱动机械手抓取机构  如图所示,油缸的活塞杆1带动齿条2和齿轮3,使主轴4转动。活塞杆5使弯臂6抬起或下降。活塞杆7使互相啮合的齿轮8、9反向转动,以夹紧或松开工件10。 例5.2-258 挖掘机机构  图a)、b)分别为正铲挖掘机构和反铲挖掘机机构。它们分别由大臂1、小臂2和铲斗3组成,由三个油缸驱动,能自由伸屈,便于向不同高度挖掘和卸载。 例5.2-259 凿岩机推进器支架平行升降机构  如图所示,推进器支架5与摆臂3在H铰接,摆臂3用油缸1驱动,使其绕C转动。油缸2、4直径相等,并分别在E、F、G与3、5铰接,二者充满油,用油管6、7联通。当油缸1使摆臂3向下转动时,油缸2中的油经油管6流入油缸4的上方,使支架5绕H逆时针方向转动,保持5的水平位置。当摆臂3向上转动时,油缸2中的油经油管7流入油缸4的下方,使支架5顺时针向转动,仍保持5的水平位置。为了使3转动时,总能保持5的水平位置,铰接点C、D、E间和F、G、H间的位置关系应计算确定。 |