网站首页  词典首页


请输入您要查询的字词:

 

字词 播种监视器
类别 中英文字词句释义及详细解析
释义

播种监视器seed monitor

播种机上用于监视排种器工作情况的装置。主要用于精密播种机。当某一行排种器发生故障,种子不排出或阻塞时,通过传感器能及时地自动报警,并指示出发生故障的所在行位置。
精密播种机上采用的监视器,主要有机电式和光电式两种。
机电式播种监视器 一种装在型孔带式精密排种器上的监视器(图1)。传感器是一个靠弹簧压紧在排种带上的胶木滚轮,在排种带的带动下旋转。滚轮的轮缘有半周镶有金属片与滚轮轴相通而接地,在指示器触点与滚轮有金属片的侧边接触时,接通电路使指示灯闪亮。反之,当滚轮轮缘未镶有金属片的侧边与指示器触点相接触时,电路即被切断,指示灯熄灭。因此,当排种带正常运转时,滚轮均匀转动,指示灯周期性闪亮。一旦指示灯处于常亮、常灭或闪亮不规则状态,表示种带不转或运转不正常,应立即检查。

图1 机电式播种监视器


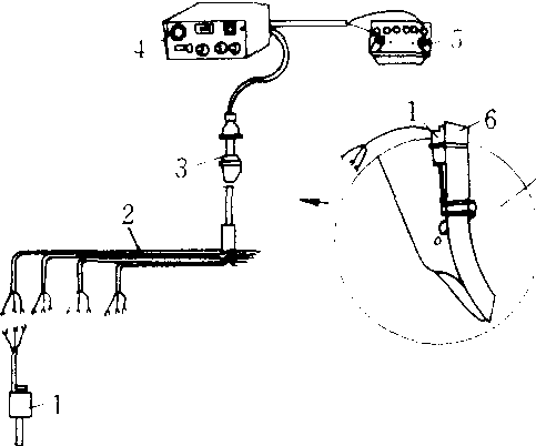
光电式播种监视器 结构如图2。传感器通常位于输种管或排种器投种口。播种机正常工作时,种子按一定频率从排种口经导种管落入种沟。当种子经过传感器所在空间时,就会遮断光束使光电管传出脉冲信号,表示有种子通过。当播种机某一行出现排种故障或其它原因造成的漏播或堵塞时,该行种子断流不遮断光束,使光电管发生脉冲信号的时间大于报警响应时,作为报警信号的指示灯闪亮,喇叭鸣响,并在仪表盘上显示出故障行数码,以便及时排除。

图2 光电式播种监视器


新型现代播种监视器还可以监测每一行的播量,每米长度内粒数,排种器转数和气压数值等。电脑自控播种机可以根据要求株距或每米粒数,自动调节排种器转数,或启动备用排种器,以达到所要求的播种量。

播种监视器planting monitor

用微电子技术直接监视播种机工作质量和可靠性的装置。有机电式和光电式两种。如用光电监视系统通过光电测量变换器以监视各行播种情况,当输种管堵塞或种子箱内种子少于规定数量时,在拖拉机驾驶室的控制台上,立即发出音响或灯光信号;有的监视系统还能对每行的播种量进行比较,同时在屏幕上显示出最大和最小的播种量;有的还备有播种总面积、单位面积播量、每小时播种面积及机组速度等的计数器,不断地监视机组和各主要机构的技术状态及完成的工作量,以保证高的工作质量和生产率,减少故障及质量恶化所造成的损失。

播种监视器

1.传感器 2. 电线 3. 柱塞联轴器 4. 监视仪 5. 蓄电池 6.导种管 7. 开沟器

随便看

 

离鸟网收录3541549条中英文词条,其功能与新华字典、现代汉语词典、牛津高阶英汉词典等各类中英文词典类似,基本涵盖了全部常用中英文字词句的读音、释义及用法,是语言学习和写作的有利工具。

 

Copyright © 2004-2024 vtrois.com All Rights Reserved
更新时间:2026/4/8 16:25:21