网站首页  词典首页


请输入您要查询的字词:

 

字词 木材切削性质
类别 中英文字词句释义及详细解析
释义

木材切削性质cutting properties ofwood

对木材进行切削加工的难易程度。木材的切削性质通常以切削阻力、已加工表面质量主要是表面粗糙度,以及刀具磨损状况衡量。木材切削性质是木材合理选用、木工机械和刀具设计、木材切削加工工艺的制订与改进的基本依据之一,是木材工艺性质的一个重要方面。
对木材切削性质的研究是从经验记述开始的。此种记述可见于许多木材志专著。20世纪30年代,科学工作者开始通过科学试验对木材切削性质进行测定、评价和研究。1964年,美国制定了木材和木质材料切削性质的试验方法标准(ASTM D1666-64)。其中规定了对平面和仿形铣削、车削、钻孔、打榫眼和砂光等项加工中出现的削裂纹、毛刺、凹凸纹和切屑压痕等缺陷进行目测比较,以评定木材切削性质的方法。70年代,日本林业试验场对本国及国外300种木材,从铣削性、锯断性和单板切削性三方面进行了测定和分级:铣削性以切削阻力和刀具磨损状况衡量;锯断性以制材效率(一定锯口宽度下容许的最大进料速度)和切削阻力衡量;单板切削性以单板裂隙状况衡量。
木材的切削性质受多种因素影响。木材的密度、含水率、解剖构造和化学成分对切削性质都有影响。木材的密度越大,切削阻力越大,刀具磨损越快。根据

图1 21种木材主切削力与木材密度的关系表示用锋利刀具切削; 表示用磨钝的刀具切削;木材含水率10.5~12%;切削厚度0.1mm;刀具前角35°,后角10°
树种:1.轻木;2.云杉;3.白杨(Populus sp.);4.杨木(Populus sp);5.芬兰松木;6.榆木;7.桤木;8.刚松;9.栎木;10.桃花心木;11.桦木;12.柚木;13.槭木;14.山五加;15.山毛榉;16.白蜡;17.山核
桃;18.花旗松;19.乌拉圭因嘎豆;20.愈疮木;21.乌木

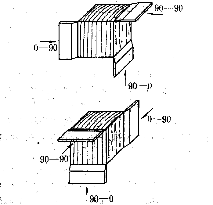
图2 三个主要方向的直角自由切削示意切削方向代号的第一个数字表示刀刃与木材纹理方向的夹角,第二个数字表示切削运动方向与木材纹理方向的夹角

木材的密度可对切削阻力做粗略的估计。芬兰基维玛(E.Kivimaa)关于21种木材在三个主要方向的直角自由切削中,主切削力与木材密度关系的试验结果如图1所示,三个主要切削方向代号为90-0、0-90和90-90(图2)。木材有扭转纹、交错纹或应拉木不易加工出光洁的表面。木材中的硬矿物质在切削中会显著地加剧刀具磨损,木材的pH值在含水率较高时对刀具磨损也有显著的影响。

木材切削性质cutting properties of wood

对木材进行切削加工的难易程度。通常以切削阻力,已加工表面质量主要是表面粗糙度,以及刀具磨损状况衡量。木材的密度、含水率、解剖构造和化学成分对切削性质都有影响。木材密度越大,切削阻力越大,刀具磨损越快。木材有扭转纹、交错纹或应拉木不易加工出光洁的表面。木材中的硬矿物质在切削中会显著地加剧刀具磨损,木材对pH值在含水率较高时刀具磨损也有显著的影响。木材切削性质是木材合理选用、木工机械和刀具设计、木材切削加工工艺的制订与改进的基本依据之一,是木材工艺性质的一个重要方面。

随便看

 

离鸟网收录3541549条中英文词条,其功能与新华字典、现代汉语词典、牛津高阶英汉词典等各类中英文词典类似,基本涵盖了全部常用中英文字词句的读音、释义及用法,是语言学习和写作的有利工具。

 

Copyright © 2004-2024 vtrois.com All Rights Reserved
更新时间:2026/4/8 7:27:23