网站首页  词典首页


请输入您要查询的字词:

 

字词 栲胶生产工艺
类别 中英文字词句释义及详细解析
释义

栲胶生产工艺production technology oftannin extract

用物理的(粉碎、浸提、浓缩等)和化学的(化学处理)方法,从富含单宁的植物原料中制取栲胶的全过程。其工艺流程如图1。

图1 栲胶生产工艺流程示意


原料粉碎 原料经过粉碎,可以增大原料与水接触面积,缩短浸提时间,提高单宁抽出率,降低原料单耗;增加浸提罐的装料量,提高设备生产能力。
木材中单宁存在于木射线细胞中,单宁容易浸出,粒度宜大;树皮中单宁,多存在于木栓层中,细胞上有交替叠加的软木脂和蜡层,不透气、不透水、弹性高,单宁难于浸出,粒度宜小。木材和树皮的细胞绝大多数是顺树轴方向排列,宜横向粉碎,以破坏更多的细胞,使单宁更易浸出。不同浸提设备对原料粒度要求不同。如在加压浸提罐中,落叶松树皮、杨梅树皮最好为2.5~10毫米。在常压浸提罐中,橡碗5~10毫米,杨梅树皮5~20毫米。橡碗颗粒较小、均匀、易脆,可选用辊筒压碎机。黑荆树皮的纤维多而长,宜选用切断机。落叶松、杨梅、油柑等树皮纤维少、较脆,宜先用切断机,后用锤式粉碎机。木材纤维多、木质硬,先用鼓式削片机,再用锤式粉碎机。
原料输送 选用皮带运输机、斗式提升机、螺旋输送机等,实现水平、倾斜和垂直输送。也可使用风动输送装置输送碎料。
原料浸提 按逆流原理,用热水浸泡原料,使其中可溶物溶入水中,然后与水不溶物分离。浸提为一扩散过程,开始浸提时,水渗入碎料的细胞中,溶解其中的可溶物,形成高浓度的胞内溶液,碎料外部形成低浓度的浸提液,依靠浓度差,单宁从胞内溶液不断扩散到浸提液中,直到胞内溶液与浸提液的浓度差相等时,扩散作用停止。放出浸提液,另加清水或低浓度的浸提液,扩散作用又重新开始,直到新的浓度差相等时为止。如此重复进行,使单宁浸提比较完全。
生产中采用各种方法提高抽出率、缩短浸提时间。如减小碎料粒度或压成小片;采用转液泵循环;加亚硫酸盐浸提,促进难溶于热水的和不溶于热水的单宁溶解;合理提高浸提温度,加快单宁扩散;适当提高出液系数,增大浓度差等。不同原料在罐组中的浸提条件不同(表1)。

表1 各种栲胶原料在罐组中浸提工艺条件

原 料浸提方式工 艺 条 件
粒 度
(毫米)
温 度
(℃)
罐 数
(个/组)
时 间
(小时)
出液系数
(%)
亚硫酸盐
(%)
落叶松树皮
杨梅树皮
油柑树皮
㭴木木材
栗木木材
黑荆树树皮

小于10
1.5~12
1.5~12
小于6
2.0~10
小于15
80~120
90~120
80~115
105~125
85~120
100~125
6~7
6~8
6~8
6~8
7~8
8
12~14
12~16
12~16
8
7~8
7
400~650
500~600
500~600
225
250~300
400
1.0~1.4
1.0~1.8
1.0~1.5
-
-
-
橡 碗
木麻黄树皮
杨梅树皮
5~10
5~30
小于20
60~95
85~98
85~98
6~8
6~8
6~8
15~24
20~24
24~32
300~400
300~400
400
1.0
0.8~1.0
1.0~1.8
油柑树皮小于2080~986~824~324001.0~1.5

表2 几种浸提设备的技术特征

名 称数量/组
(个)
容 积
(m3)
直 径
(m)
总 高
(m)
料格液格
(m)
工作压力
(Pa)
材 料
加压罐组
常压罐组
6~8
6~8
6
6.5
12
8~16
1.4
1.8
1.8~2.0
6.2
6.6
3.0~5.0
 3.90×105
3.92×105
碳钢内衬不锈钢
不锈钢
杉木或钢筋混凝土衬里
平转型连浸器1 外圈8.0
内圈3.0
5.516~20
12~16
 不锈钢

浸提以逆流循环浸提为主。6~8个罐连成一组。罐组内每一个罐都依次轮流,从首罐、次首罐,陆续成为次尾罐、尾罐。热水从罐组内的尾罐进入,逐次进行浸提,浸提液从首罐内浸过新原料后放出。通过罐组的逆流循环浸提,完成每 一罐原料的浸提工作。
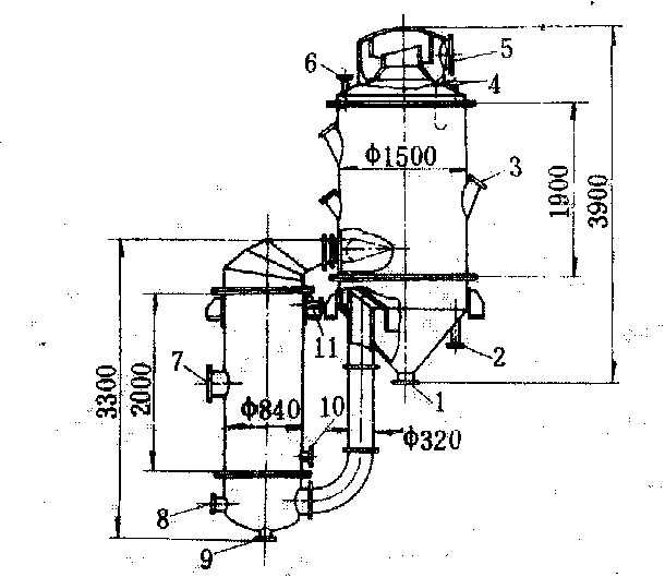
浸提设备主要有加压罐(图2)、常压罐和平转型连续浸提器等。浸提设备的技术特征如表2。加压罐浸提温度可达120℃,有利于提高抽出率,对树皮、木质原料较适宜。常压罐组中浸提温度低于100℃,抽出率较低,多用于橡碗浸提。平转型连浸器用于五倍子和橡碗浸提。
浸提液蒸发 浸提液含水90%以上,用加热方法蒸去水分,使其含水量低于45%。蒸发是传热过程,热量传递方式是由加热蒸汽不断冷凝、放出潜热,经加热管壁,传递给浸提液,使水分不断气化,同时不断排出气化产生的二次蒸汽,最终使浸提液浓度增高。为了节省蒸汽、避免单宁分解,常采用多效真空蒸发。1、2、3、4效真空蒸发时,每蒸发1千克水所需蒸汽量依次为1.1、0.58、0.44、0.32千克。
浸提液蒸发工艺条件为: 加热蒸汽压力(帕)1.96~19.60×104;冷凝器真空度(百帕)800~880;浸提液浓度1.5~10%;浓胶浓度30~55%;冷凝器冷凝水温度40~50℃。

图2 6.5立万米加压浸提罐
1.加料口; 2.活动筛板; 3.排气口; 4.上、下筛板; 5.上锥体; 6、7.水力开关进、出水口; 8.下转液管口; 9.底盖托梁; 10.底盖; 11.密封圈; 12.上转液管口;
13.手轮; 14.手柄; 15.拉杆


蒸发设备有蒸发器、冷凝器和真空设备3部分。❶蒸发器:主要有外加热式(图3)、标准式、升膜式、降膜式和强制循环式等。几种蒸发器的传热系数和蒸发强度如表3。
❷冷凝器:干式逆流高位冷凝器,使用广泛;浮头式列管冷凝器常与干式逆流高位冷凝器串联使用,可以充分利用热量。
❸真空设备:往复式、水环式真空泵及水喷射泵使用较多;双级蒸汽喷射泵也被利用。
浓胶的处理 为了减少溶液中不溶物和沉淀物,浅化栲胶颜色,生产中常采用物理净化和亚硫酸盐处理方法。
物理净化方法 ❶过滤澄清:浸提液经过滤器、澄清槽,除去悬浮的颗粒原料和泥沙;
❷凝结剂澄清:如血蛋白用于栗木、栎木溶液的净化。

图3 外加热式蒸发器
1.排污口;2.溶液出口;3.视镜;4.真空调节阀;5.二次蒸汽出口;6.接真空表;7.加热蒸汽进口;8.溶
液进口;9.排污口;10.冷凝水出口;11.不凝性气体出口

表3 蒸发器的传热系数和蒸发强度

型 式效数蒸汽压力
(Pa)
末效真空度
(hPa)
侵提液浓度
(%)
浓胶浓度
(%)
传热系数
(kal/m2·h·℃)
k1 k2 k3
蒸发强度
(kg/m2·h)
国别
外加热式1
2
3
(3.02~6.86)×104
11.86×104
9.8×104
640~733
843
857
6.9
5.4
7.5
29.2
34
30.8
1880 908
2750 1080 785
107
78
41
中国
标准式3----- - -39~42苏联
升膜式长管
短管
3----- - -38~40
35~37
降膜式4--1055- - -60巴西

亚硫酸盐处理方法 常用亚硫酸钠、亚硫酸氢钠、焦性亚硫酸等处理浓胶或冷却澄清后的沉淀物。缩合单宁与亚硫酸盐反应时,火炬松树皮单宁降解,生成表儿茶素-(4β)-磺酸钠、表儿茶素-(4β→8)-表儿茶素-(4β)-磺酸钠和1-(3,4-二羟基苯基)-2-羟基-3-(2,4,6-三羟基苯基)-丙烷-1-磺酸钠等;黑荆树皮单宁经亚硫酸盐处理后,吡喃环被打开,生成多羟基苯基丙烷磺酸钠。亚硫酸盐能使浓胶中亲水胶体水解,氧化单宁还原。处理后的单宁,颜色浅,不溶物和沉淀物少,易溶于水,溶液粘度低,单宁容易渗入皮内。但单宁受到破坏,单宁与胶原结合力差。因此,控制亚硫酸盐用量,不使单宁破坏过多,对制革是十分重要的。生产上根据栲胶原料新旧程度、不同品种,确定亚硫酸盐适当用量。亚硫酸盐处理时,添加少量甲酸或醋酸,可使栲胶颜色更浅。落叶松浓胶可用6%亚硫酸钠和亚硫酸氢钠(1:3,包括浸提用量)在90℃处理6小时。杨梅、油柑、木麻黄等浓胶用3~6%焦亚硫酸钠,在80~95℃处理1~1.5小时。处理时用不锈钢反应釜、搪瓷反应釜等设备,容积为1.0~2.0立方米。不锈钢釜的顶盖易被二氧化硫腐蚀,最好涂上耐酸材料。
浓胶干燥 浓胶含水量大,易变质,难贮运,需干燥成固体栲胶。干燥方式有喷雾干燥、薄膜干燥。
喷雾干燥 用雾化器将浓胶喷成雾滴分散于热气流中,使水分迅速蒸发,得到产品(粉状栲胶)。喷雾干燥方式有离心盘式、气流式和压力喷嘴式3种。前者利用高速旋转的圆盘将溶液由其中洒出,使溶液形成雾滴,与热空气或烟道气相接触而干燥。后者借助高压泵将液体压过喷嘴孔,使液体分散成雾滴,与热空气或烟道气相接触而干燥。气流式喷雾干燥是用螺杆泵把浓胶送入三流式喷嘴,浓胶在喷嘴内部先与一次压缩空气混合,后与二次压缩空气混合,使浓胶分散成雾滴,再与热空气相接触而干燥。在喷雾干燥过程中,雾滴与热空气接触,以对流传热的方式将热量传递给雾滴,使其水分气化。气化的水分依靠雾滴表面和热空气之间的水蒸气分压差,通过边界层扩散到热空气中。随着干燥的进行,其分压差逐渐减小,直至趋于零,干燥过程即告结束。干燥介质有热空气和烟道气两种。❶热空气: 用蒸汽或重油燃烧的烟气或锅炉烟气加热空气。空气干净,粉胶含灰分少,但燃料消耗大(锅炉烟气除外),设备多。
❷烟道气: 直接燃烧无烟煤或焦炭等产生的烟道气。含尘量较高、劳动和卫生条件差。喷雾干燥工艺条件如表4。

表4 喷雾干燥工艺条件

方 式浓 胶气 体
浓度(°Be′)温度(℃)入塔温度(℃)出塔温度(℃)流量 (m3/h)
离心盘式17~1870~80空气140~160
烟气220~250
65~80
65~78
18 554
18 600
气流式
压力式
20~27
17~22
90~95
50~60
空气 160
烟气 350
65~80
65
11 707~12 212
29 300

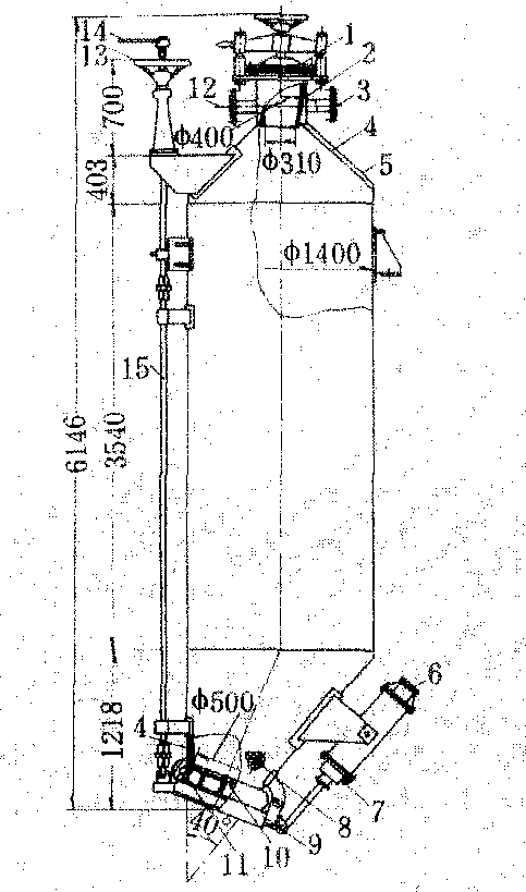
喷雾干燥设备包括以下4个部分: ❶喷雾干燥塔。离心盘式喷雾干燥塔(见图4),为圆柱形平底或

图4 离心盘式喷雾干燥塔
1.热空气入口; 2.塔壁; 3.塔门;4.排风口; 5.回转耙; 6.螺旋卸料机; 7.卸料斗; 8.喷雾器;9.电
动机; 10.冷却过滤器;11.热空气分配盘

斜底或锥底。压力式喷雾干燥塔为圆柱形锥底。塔有砖一钢筋混凝土结构,也有钢结构,直径4.5~8.6米,高4.5~15.5米。气流式干燥塔为圆筒一截锥形,不锈钢制成,直径1.2米,高约11米。塔中有雾化器。如离心盘式雾化器,直径300~360毫米,转速为6 000~8 000转/分, 产量250~400千克/时,由电动机或汽轮机驱动; 气流式喷嘴(三流式),喷嘴出口直径14毫米,一次压缩空气压力和流量分别为6.0×105帕和76~78米3/时,二次压缩空气则为4.0×105帕和54~60米3/时,产量500~600千克/时; 离心型压力喷嘴雾化器,喷嘴孔径为0.8~1.8毫米,有4只,高压泵压力为9.8×106帕,产量400千克/时。平底或斜底塔内有回转耙,塔底粉胶由回转耙汇集于卸料口排出。还包括热空气或烟道气分配器和排出管等。
❷产品回收装置。旋风分离器组,由4~6个旋风分离器组成或用袋滤机(回收总效率99%左右),以及螺旋输运机等。
❸加热设备。
空气过滤器、空气加热器和热风炉。
❹供料设备。包括高位槽、定位槽等。
薄膜干燥 用蒸发的方法,将栲胶液体浓缩到含固体量60%以上,在室温下冷却成固体。设备包括多程加热器、多程升—降膜蒸发器和分离器。
随便看

 

离鸟网收录3541549条中英文词条,其功能与新华字典、现代汉语词典、牛津高阶英汉词典等各类中英文词典类似,基本涵盖了全部常用中英文字词句的读音、释义及用法,是语言学习和写作的有利工具。

 

Copyright © 2004-2024 vtrois.com All Rights Reserved
更新时间:2026/4/8 7:00:14