网站首页  词典首页


请输入您要查询的字词:

 

字词 气调库
类别 中英文字词句释义及详细解析
释义

气调库controlled air storage

在冷藏条件下,通过调整和控制贮藏环境中气体成分而使贮藏物得到长期贮藏和保鲜的库房。果蔬在采收后的贮藏过程中仍是生命的有机体,通过吸收氧气放出二氧化碳的呼吸代谢过程延续其生命活动。贮藏过程中果蔬的呼吸作用不但消耗了产品的有效物质,而且产生大量的呼吸热并放出乙烯气体,进而加速了果蔬的衰老过程。气调贮藏正是通过控制库内的气体成分(主要是氧气和二氧化碳的浓度),达到抑制呼吸强度,延长果蔬贮藏寿命,提高贮藏效果的目的。
简史 法国的贝拉特(J. E. Berard)在1819年便开始了气体成分对果蔬成熟影响的研究,但直到20世纪20年代人们才开始气调贮藏的研究,并建设了一批气调库。气调库从此得到了迅速推广和应用。美国在50年代初期即普及了苹果的普遍气调贮藏,60年代则迅速发展了机械化和自动化的气调库,特别是1962年美国研制成功燃烧冲洗式气体发生器,为实现机械化气调贮藏奠定了基础。气调贮藏库已在美、英、法等国得到了普及,成为果蔬贮藏的重要手段之一。中国早在11世纪中叶就有将柑桔、荔枝等放在竹节、瓦缸或地窖中的类似气调贮藏的记载。20世纪60年代中国首先开展了香蕉气调贮藏的研究,主要通过控制贮藏环境中的乙烯浓度而控制香蕉的成熟。1978年以后在北京、广州、大连等地自行设计建造和引进了一批机械式气调库,一些厂家已经开发和生产了系列装配式冷库。
分类 按照气体调节方法不同,可分为自然呼吸降氧气调库(又称普通气调库)和机械降氧气调库;按气密型式分为金属板密封型和有机聚合材料密封型;按照建筑结构型式,可分为装配式气调库和整体式气调库。
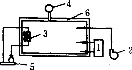
普通气调库(图1)是利用果蔬本身的呼吸作用吸收氧气并放出二氧化碳,达到降低氧气浓度,增加二氧化碳浓度的目的。在贮藏过程中,库内气体成分的调节,可采用通风控制库内的氧气浓度。采用消石灰或二氧化碳洗涤器控制二氧化碳浓度。这种贮藏方式管理简单、成本低,但降氧和增加二氧化碳的速度较慢,同时对库房的气密性要求较高。一般适用于贮藏物一次整进整出的情况。许多国家(尤其在英国)仍采用这种贮藏库。

图1 普通气调贮藏库

1.CO2洗涤器; 2.送风机; 3.空气冷却器; 4.压力平衡器;5.制冷压缩机; 6.围护结构


机械式气调库可分为机械冲洗式和机械循环式两种。机械冲洗式气调库是利用冲洗式气体发生器将库外空气进行降氧处理后送入库内,而把库内原有的气体冲洗出来,直到库内气体浓度达到要求的浓度为止。这种贮藏方式对库房的气密性要求不高,但运行费用大,现已较少采用。机械循环式气调库(图2)是把库房内的气体通过循环式气体发生器,去掉其中的氧气后重新送入库内从而控制库内的气体浓度。此种气调库较冲洗式气调库运行经济,降氧速度快,对库房的气密性要求较低,运用最为广泛。与普通气调库相比,机械式气调库的降氧速度快,因此在贮藏期间可随时存取贮藏物。

图2 机械循环式气调贮藏库

1.CO2洗涤器; 2.N2发生器; 3.空气冷却器; 4.压力平衡器; 5.送风机; 6.制冷压缩机; 7.围护结构


组成 气调库一般由制冷系统,气体调节装置,保温、防潮和气密性能良好的围护结构,湿度调节装置以及压力平衡装置(又称压力调节器)等组成。制冷系统用来保持库内恒温,其系统组成与普通冷库基本相同,但库内蒸发器多采用空气冷却器(又称冷风机)。气体调节装置主要包括气体发生器(或称氮气发生器)和二氧化碳洗涤器两大类,作用是控制库内的气体浓度。气体发生器根据工作原理分为燃烧式和非燃烧式两种。前者又有冲洗式和催化循环式两种。催化循环式气体发生器是将库内原有的空气循环后去除一部分氧气再送入库内,这样不断循环直至库内氧气的含量降至预定要求。它所制成的氮气能得到完全利用,操作成本较冲洗式低得多,因此应用越来越广泛。二氧化碳洗涤器是去除库内多余的二氧化碳(主要用于普通气调库和机械冲洗式气调库内),工作原理是利用吸收剂(或吸附剂)吸收二氧化碳。常用的吸收(吸附)剂有消石灰、碳酸钾、活性碳、硅胶等。湿度调节器(又称加湿器)的作用是保持气调库内较高的相对湿度。常用的湿度调节器是超声波式雾化加湿器。用压力平衡器平衡库内外压力差。为了保证库房的气密性,一般在库房的围护结构上设置压力平衡器,通常采用水封式和气囊式两种,以前者应用更为广泛。
设计要点 气调库一般设计为单层建筑,以缩短气调和制冷管道。每个贮藏间不能过大,一般200吨左右,过大容易延长进物和形成气调的时间(一般以7天内装满库房为宜)。气调库的库房除了具有一般冷藏库的基本性能外,对气密性要求十分严格。墙体、库顶、地坪等都要作气密处理。各种工艺和电缆的管道入库穿孔处要求更为严格,库门和门框使用特别的气密门和门框。库房所采用的气密材料除了满足气密性要求外,还要求耐腐蚀,无异味,机械强度高,能连续加工、易检查维修、抗老化等。早期的气密材料多采用镀锌钢板、铝合金板等各种金属薄板,接缝处采用锡焊并敷以粘接剂密封处理。现在运用较为广泛的是沿库房的墙面和库顶分层连续喷涂聚氨酸泡沫,既可获得良好的气密性,又能满足库房的保温和隔气要求。为了便于及时观察和取样检查贮藏物的质量,一般在库房上设置观察窗。观察窗必须保证气密良好。气调库建成后应对库房进行气密性检查。
在制冷系统设计方面,除了参照普通冷库外,还应注意所配备的制冷降温能力应大于普通冷库。因贮藏物入库时间较短,而且在封闭库门之前必须将所有入库物冷却。为了提高降温能力,有些气调库设有专门的贮藏物预冷间或预冷设备;其次,气调库所要求的相对湿度一般高于普通冷库。因此,除了在库内配置加湿装置外,在制冷设计上还须加大蒸发器的蒸发面积,降低蒸发器的换热温差,从而增大相对湿度。
使用和管理 为了保证库房的使用性能,贮藏物在入库前要对库房的气密性进行检测,入库时尽可能缩短进物时间(一般在7天内装满),最好在入库前进行预冷,使贮藏物温度降到接近贮藏温度,封库后迅速降氧,使之达到设计的气体浓度。在贮藏期间影响气调贮藏效果的主要因素有温度、相对湿度及二氧化碳、氧气和乙烯的浓度。低温可抑制果蔬呼吸从而延长果蔬贮藏寿命。但不同的产品所要求的贮藏温度也不同,一般气调库贮藏温度比普通冷藏库贮藏温度高1℃左右。相对湿度是决定产品贮藏质量的另一个重要因素,气调库内的相对湿度也比普通冷库高,一般在90%~93%。采用高湿度(相对湿度达98%~100%)贮藏果蔬,可获得更好的贮藏效果。二氧化碳和氧气的浓度是否适当是气调贮藏成功与否的决定因素。一般情况下气调库内二氧化碳浓度高于氧气浓度,但不同的产品对它们的要求也不同(见表)。在进行气调贮藏管理时可参照表中所规定的控制数据(同一品种不同产地时数值可能稍有不同),其误差控制在±0.5%以内,贮藏过程中避免波动。为了保证所需的气体浓度,提高货物质量,在贮藏期间,每天检查记录库内的气体浓度,即使是全自动控制的气调库也应每周检查一次温度、湿度、以及气体浓度。宜经常取样观测贮藏物的质量。货物出库时,尽可能一次出完。由于气调库内氧气浓度很低,人和动物在库内无法生存,因此管理气调库时应注意安全,进库内时戴氧气罩。

水果蔬菜的适当气调贮藏条件

种 类温度
(℃)
湿度
(%)
氧气
(%)
二氧化碳
(%)
贮藏期
(年)
苹 果
温州蜜柑


草 莓
0
3
0~2
0
0
90~95
85~90
95
85~90
95~100
3
10
3~5
3
10
3
0~2
7~9
6
5~10
6~9
6
4(周)
7~8
4(周)
香蕉(绿熟)
西 红 柿
12~14
6~8

5~10
3~10
5~10
5~9
6(周)
5(周)
莴 苣
大 蒜
0
0
95~100
85~90
10
2~4
4
5~8
2~3
10~12
随便看

 

离鸟网收录3541549条中英文词条,其功能与新华字典、现代汉语词典、牛津高阶英汉词典等各类中英文词典类似,基本涵盖了全部常用中英文字词句的读音、释义及用法,是语言学习和写作的有利工具。

 

Copyright © 2004-2024 vtrois.com All Rights Reserved
更新时间:2026/4/7 11:01:39