网站首页  词典首页


请输入您要查询的字词:

 

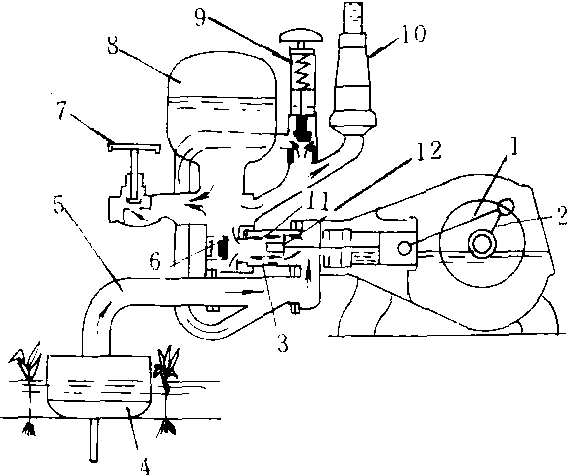
字词 活塞式药液泵
类别 中英文字词句释义及详细解析
释义

活塞式药液泵piston spary pump

一种往复式泵。由活塞、活塞杆、进出水阀、空气室等组成。利用活塞的往复运动,吸入和压出药液。有单缸、双缸、三缸等型式。单缸泵多用于手动喷雾器,双缸和三缸多用于动力喷雾机。活塞泵具有较高的喷雾压力,而且可根据不同排液量要求设计成不同尺寸,形成系列。

活塞式药液泵工作原理图

1. 连杆 2. 曲柄 3. 泵缸 4. 吸液滤网 5. 进液管 6. 出液阀 7. 出液截止阀 8. 空气室 9. 调压阀 10. 压力指示器 11.活塞12.进液阀

随便看

 

离鸟网收录3541549条中英文词条,其功能与新华字典、现代汉语词典、牛津高阶英汉词典等各类中英文词典类似,基本涵盖了全部常用中英文字词句的读音、释义及用法,是语言学习和写作的有利工具。

 

Copyright © 2004-2024 vtrois.com All Rights Reserved
更新时间:2026/4/9 13:53:16