网站首页  词典首页


请输入您要查询的字词:

 

字词 电刺激
类别 中英文字词句释义及详细解析
释义
电刺激

电刺激

电刺激是使一定波形、幅度、持续时间、重复频率或能量的电流,按一定方式经负电极(正电极取为无关电极)作用至可兴奋组织,使之兴奋,以达到治疗和控制的目的。电刺激能使神经和肌肉等可兴奋组织兴奋,改变钠、钾等离子的通透性,在组织中产生离子电流。其作用包括:
❶在沿神经通道上发动或阻断动作电位的传导;
❷使某肌群受刺激后收缩;
❸诱导麻醉状态。电刺激已在心脏电起搏、电除颤、止痛及其它治疗和康复医学中得到广泛应用。
电刺激的电生理基础 可兴奋组织细胞处于静息状态时,细胞膜两侧存在着内负外正的电位差(静息电位)。膜两侧的正、负离子层则构成极化状态,具有电容器的性质。由于细胞膜对离子的通透性具有电阻性能,因而,可兴奋组织细胞从电性能看,可模拟为电容、电阻组合的等效电路。负电极(不论其在细胞内或细胞外)附近的可兴奋组织,在有脉冲电流通过细胞膜时,会引起膜两端电位变化,使膜去极化,若外加电刺激引起的去极化达一定阈值时,就会引起被刺激细胞中钠、钾等离子的通透性瞬时急剧改变而发生动作电位,并由负电极作用区开始,沿神经或肌纤维向邻近的细胞扩布,产生扩布性兴奋。凡能使可兴奋组织兴奋的最小刺激称为阈刺激。阈刺激包括强度和时间两个基本参数。在一定的刺激作用时间(即脉冲宽度)下,引起可兴奋组织兴奋所需的最低刺激电流强度(即脉冲幅度)称为电流强度阈值。采用直流电或宽度无限长脉冲使可兴奋组织产生扩布性兴奋的最小刺激电流强度称为基强度Io,基强度不仅与可兴奋组织的兴奋性有关,而且还取决于电极的形状和大小,以及电极与可兴奋组织间的接触状态。在采用有限宽的脉冲进行刺激时,由于膜电容的影响,当刺激电流超过阈值后,其幅度愈大,持续时间可愈短,设所选用的刺激脉冲宽度为t,则引起组织兴奋所需的电流强度阈值It与基强度Io关系为It=Io(1+τ/t),式中τ为时值,表示刺激电流为基强度的两倍时引起组织兴奋所需的电流持续时间。根据等效电路推论与实测,使神经和肌肉兴奋的电刺激强度与持续时间呈双曲线关系,如图1所示。理论与实验证明,电刺激脉冲时间接近时值可有效地以最小能量使神经和肌肉应激。传导动作电位速度快的神经,它的时值较小。人的运动神经纤维传导冲动的速度为50m/s,时值为200μs左右,小


图1 神经和肌肉兴奋的刺激
强度与时间关系

的感官神经时值为20ms左右。电极的阻抗与组织阻抗的串联值在300~3000Ω范围内,其量值主要决定于电极面积的大小。为能发送10mA的刺激电流,相应电脉冲的电压应满足3~30V。
埋植体内的刺激电极,其表面将会形成一薄层纤维化组织,结果使电极与可兴奋组织间的相对面积增大,刺激密度减小,刺激阈值增大。为满足长时间的电刺激,应避免电极周围组织的受损。高电流密度刺激可能放出气体或产生热而损坏组织。无毒性电极通过化学反应也可能产生有毒物质。双向电脉冲可减小这些有害反应。电流刺激能达到治疗效果所用的电参数和作用机制还不够明确。
用于产生止痛效果的电刺激方法,取决于疼痛的类型和起源,主要有三种方法:
❶疼痛部位直接效应,用电刺激使疼痛区产生震颤感,对大部分慢性疼痛都可缓解,为此可用经皮电刺激神经的方法,由体外刺激器经体表电极提供电刺激;
❷用埋植电极直接刺激脊髓,能使疼痛缓解而又无副作用,其效果很大程度取决于电极的设计和埋植的位置;
❸对脑施加电刺激,电极的放置是个关键,在这样高层次上进行电刺激的特点是能成功地治疗各种类型的疼痛。
对某些病理状态配合电刺激治疗可恢复运动机能。神经肌肉功能性电刺激的适应证大致可分四类:
❶低位运动神经元损伤;
❷高位运动神经元损伤,但无进展性肌肉紧张;
❸高位运动神经元损伤伴有痉挛和强直;
❹动作震颤运动失调。电刺激可在两种水平上进行,一是对去神经肌肉或受损神经肌肉系统伴有高位运动推进损伤,进行协调顺序运动的恢复,二是对运动神经元活动过度引起的痉挛和强直的矫正。
对电刺激效果的重要指标是它在刺激部位形成的电荷密度 (电流强度×时间/面积)。对感觉运动和小脑皮质有效刺激的电荷密度在10~300μc/cm2范围内。对神经细胞电刺激,脉冲宽度<100μs或>600μs时将需要更多的电能。对肌肉电刺激,脉冲重复频率不超过50Hz,过高会产生暂时失去对刺激反应能力的强直。占空比小的电脉冲有助于电极组织界面维持电荷平衡,以减小组织损伤。较常用的占空比为10%,亦即100Hz 的电脉冲,脉冲持续时间为1ms。对脑进行电刺激,刺激频率高于200Hz时,可能产生有害的副作用。
电刺激系统 电刺激系统的基本组成如图2所示。电源可包括在埋植人体的刺激器内,也可放在人体外。刺激电极的作用是通过电极将电子电流转化为在生物组织内传导的离子电流。用于长期刺激的电极,电极-组织界面的电化学反应必须无损于电极周围的组织。刺激电极有时兼作记录电极,感知电信号,应具有兼顾刺激和检测要求的良好的电性能。
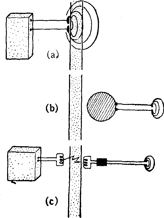
电刺激系统通常根据所用电源分类,如图3所示,其中,a为体外式刺激器,如用于经皮电刺激和皮下针电极刺激; b为全埋植式刺激器,所用电源可能在体外充电,脉冲参数亦可能在体外程控; c为部分埋植式刺激器,采用射频耦合使埋植部分发放电脉冲。其电源和发射器在体外,体内


图2 电刺激系统的基本组成



图3 电刺激系统的分类

部分重量轻,体积小,而电脉冲参数很易从体外控制。电刺激波形发生器一般采用电容耦合输出,输出电流决定于组织和电极的阻抗。
电刺激脉冲发生装置应具有输出0~60mA或0~180V电脉冲的能力。脉冲重复频率在1~350Hz范围内,具体量值取决于进行电刺激治疗的对象。
电刺激的临床应用。分为以下五点。
(1) 经皮电刺激: 通过经体表电极对周围神经电刺激缓解疼痛,称为经皮电刺激神经(TENS)。这种疗法基于痛感的阈学说,即刺激传导快的A-B纤维,能抑制较小的、传导较慢的C纤维传递感觉的输入。对部分长期难消除疼痛的患者,用TENS有疗效。治疗时,应选择有效的电极位置和适当的脉冲波形参数。TENS用的电刺激器,通常控制在脉宽为50~1000μs,脉冲频率为20~200Hz,输出幅度为0~150V的范围,输出的是电容耦合的双向脉冲波形。
(2) 脊髓电刺激:用埋植电极刺激脊髓,可使某些难消除的慢性疼痛缓解。早期将刺激电极置于脊髓的背部,而目前采取通过多电极使电流从后柱到前柱的刺激方式。在后一方式中,较小的电流即能抑制疼痛,减轻异常感觉,而且在长时间内能维持稳定的刺激阈值。刺激器提供电容耦合输出的电脉冲,脉冲宽为0.1~1.0ms,重复频率为10~20Hz,电流幅值可>4mA。应注意电极设计和埋植时的定位,以避免感觉异常,避免出现新的疼痛部位、肌肉收缩以及传递感觉和关节旋转感觉降低等因电流扩布到脊髓而引起的副作用。
(3)脑刺激: 对起源于头部和高位颈神经等中枢神经系统的疼痛,刺激外围神经达不到疗效,而需对中枢神经系统进行电刺激,根据刺激部位可分为刺激丘脑核和刺激灰质两类。
(4)功能性电刺激:对神经损伤的患者,辅助或恢复其失去功能的装置称为神经假体。为控制信息的内在传输,利用电刺激使神经组织兴奋的神经假体技术称为功能电刺激(FES)。FES装置主要应用于:
❶纠正因脑血管病、脑脊髓多发性硬化或脊髓损伤患者可能出现的步态异常。如用鞋底内足跟区的开关感知脚摆动开始时足跟抬起信息,以触发电刺激,使背屈肌收缩,直至足跟又接触地面;
❷纠正原因不明和因脊柱关节、韧带或肌腱的无机械性缺陷所引起的脊柱弯曲(特发脊柱侧凸)。方法是在脊柱凸侧用体表电极刺激脊柱旁肌肉。对畸形有明显改善的疗效;
❸刺激膈神经使膈膜起搏,治疗慢性肺换气不足。方法是每天用埋植式刺激器给患者刺激10~24小时,吸气期间一般采用脉宽150μs、幅值和频率递增的电脉冲;
❹直接刺激膀胱的逼尿肌层,可恢复排尿反射和容积感,调整尿道外流阻力;
❺对屈肌群和伸展肌群等腿部肌肉按时序进行多通道刺激,可纠正站立姿态。
(5) 电睡眠疗法: 电睡眠疗法或电睡眠是电流麻醉(Electronaroosis)应用的一个方面。在头部施加电流,控制和改变电刺激脉冲的重复频率、电流幅值、直流偏置以及脉冲极性,使平均电流为10mA以下,保证人体不丧失意识,这样的电刺激称为电睡眠。一般用于电睡眠的平均电流约为500μA,电刺激1小时或1小时以上。电睡眠疗法可用于治疗失眠症以及减轻忧虑、抑郁和激动等精神病状。
☚ 激光在医学中的应用   人工心脏起搏 ☛
电刺激

电刺激electrical stimulation

以电流对被试机体进行刺激,观察其行为效应的技术。常用于生理心理、学习心理、临床治疗和社会心理学研究中。

☚ 眼球震颤电描记法   电极 ☛
00003848
随便看

 

离鸟网收录3541549条中英文词条,其功能与新华字典、现代汉语词典、牛津高阶英汉词典等各类中英文词典类似,基本涵盖了全部常用中英文字词句的读音、释义及用法,是语言学习和写作的有利工具。

 

Copyright © 2004-2024 vtrois.com All Rights Reserved
更新时间:2026/4/7 16:44:09