网站首页  词典首页


请输入您要查询的字词:

 

字词 电力系统频率的自动调节
类别 中英文字词句释义及详细解析
释义

电力系统频率的自动调节automatic regulation of frequency in electric power system

利用自动调节手段(主要环节是调速器和调频器),改变原动机单位时间内动力元素的进入量,从而调节系统的频率。当发电机负荷的有功功率(包括网络功率损失)与原动机的出力保持平衡,机组的转速保持额定,频率为一定值; 当负荷有功功率增大时,若原动机出力未变,功率平衡被破坏,机组转速下降,频率相应下降; 相反,当负荷有功功率减小时,则转速上升,频率升高。利用原动机所附装的调速器,反应汽轮机或水轮机转速变化; 或者利用调频器,反应系统的频率,相应地调节阀门(汽门或水阀)开度,控制进汽量或进水量,改变机组出力,使机组转速维持在一定范围。二者都是通过改变原动机动力元素(单位时间内)的进入量,来实现频率调节。但调速器由于性质的限制,不可能在系统负荷变动时,满意地将频率维持在额定值,另一方面,由于系统内负荷的有功功率,是整个系统内所有电厂的发电机共同负担的,所以,为了实现系统的经济运行,负荷的有功功率应按经济原则在各电厂及机组间进行分配,而调速器是不可能实现这一任务的。因此,系统内有功负荷变动引起频率变化时,除由调速器进行频率调节外,还须有调频器对频率进行调节。这样即提高了系统的频率质量; 并按经济原则在电厂和机组间分配有功负荷。这就是频率和有功功率调节的基本任务。
调速器系统 由测量(离心飞摆)、放大(油传动器及错油门)、执行(油传动器及连杆)、调差(油补偿器、连杆系统、弹簧)及变速环节(变速电动机)组成(图1)。

图1 离心式调速器结构示意

1.离心重锤; 2.错油门(配压阀); 3.油传动器(接力器);4.同步器(调速电动机); 5.弹簧;6.弹簧; 7.蜗轮蜗杆;8.油补偿器; 9.阀


调速器的调节特性是一条直线(图2),其倾斜度即为调差系数。一般不宜太大,对于汽轮发电机为4%~6%,对于水轮发电机组为2%~4%。电力系统中如有多台机组调差系数为零,是不能并列运行的。所以系统中所有机组调节器都是有差调节,由它们共同承担负荷的波动。实际上调速器具有一定的失灵区,所以调节特性为一条区带,因此导致并列运行发电机组间有功功率分配产生误差,最大误差功率与调差系数成反比,调差系数过小将引起较大的功率分配误差。但失灵区又不能太小或没有,如太小,会使阀门调节过分频繁,这是无益的。对于汽轮发电机调速器失灵区为0.1%~0.5%,对于水轮发电机失灵区为0.1%~0.7%。自动调频时,调速器的变速环节—调速电动机的正反转,由调频器和有功功率调节器控制。

图2调节器的有差调节特性


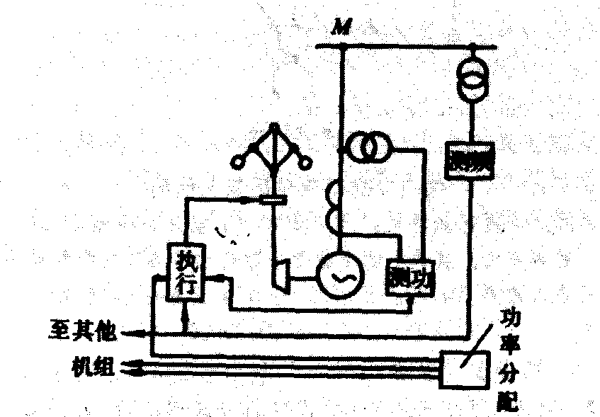
频率调节系统 系统频率经自动检测后,和给定值比较所得的偏差,以控制调速器的调速电机。改变进入机组的动力元素,维持频率为给定值。调节系统(图3)设有:❶测量元件,反应频率对额定值的偏差,由相敏电路及推挽式磁放大器组成。
❷执行元件,根据频率偏差、发电机的输出功率和分配功率等信号,按照预定频率准则,给出控制电流,控制调速电动机,实现频率和有功功率的调节。执行元件主要是由两个磁放大器组成。当f=fN时,磁放大器输出相等,且电流很小,电动机不转;f>fN时,磁放大器分别为正、负反馈工作状态,电动机得到励磁而转动,减小调节阀门,机组减速;fN时,电动机反转,开大阀门,机组升速。只有在磁放大器输出电流相等时,电动机才停转,即只在△f=0时调节过程才结束,最后稳定频率为fN,是无差调节。在磁放大器中引入接于测功元件输出的控制绕组,及功率分配元件输出的控制绕组,可得有差调节。设置调频装置后,机组的频率—有功功率特性不再由调速器决定,而由调频器决定。

图3 调频装置原理图


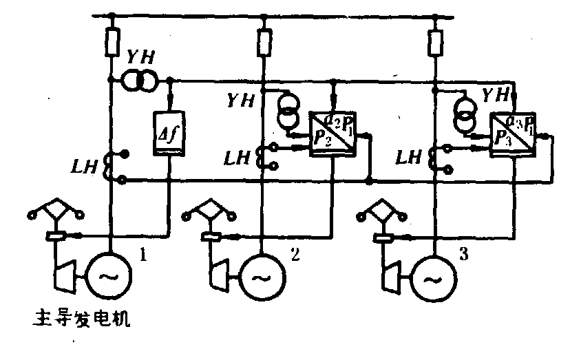
调节频率及有功功率的基本方法 调节的任务是维持系统频率为给定值,并按经济原则在电厂和机组之间分配有功功率,保持系统中电钟的准确性。❶主导发电机调节法。调频电厂装设无差调频器的发电机,即为主导发电机,其他发电机装功率调节装置,使其输出功率与主导发电机的功率保持一定比例。主导发电机调频系统如图4,当系统负荷功率变化,频率即变化,主导机组调频器先动作,改变主导机的功率,其他机组功率和主导机间功率比例关系被破坏,功率调节器动作,恢复原比例关系。在功率调节过程中,系统频率随着又改变,引起主导机功率改变,不断校正系统频率,至调节终止,△f=0、P2=α2·P1、P3=α3·P1…条件得到满足。调节过程较缓慢,适用于中、小容量电力系统调频。
❷虚有差调节法(图5)。将变动的负荷功率按比例分配给各调频机组,使系统频率维持给定值。因在调节过程中是有差,而调节结果是无差的,故称为虚有差调节。在调节过程中因各机组调速器动作不一致,机组功率与分配装置给出功率不可能完全一致,所以系统频率将有波动,而调节终止可维持为给定值。
❸虚无差调节法。虚有差调节使系统会出现频率偏差,于是在虚有差法中,分出一台机组按无差特性调节。最后该机组承担按分配系数分配后所剩余的功率,使系统频率维持给定值。
❹按经济原则调节法。理想的自动调节应该是既满足系统要求,维持频率给定值,又使有功功率分配符合经济原则,也就是供给负荷的同时,系统燃料消耗最少。系统机组间按等微增率分配负荷是最经济的。微增率为输入耗量微增量与输出功率微增量的比值,实现等微增率准则经济分配负荷,不仅可维持频率为给定值,将负荷的变动按经济原则分配给调频机组,且因频差积分可取自系统中的任一点,因而参加调频的电厂可以更多,有利于系统经济运行。此外即使调节装置存在失灵区,当频率积差超过失灵区时,调节装置即行动作,系统中电钟的准确性可以得到保证。由此可见各种调频方法,在50年代是模拟式自动调频及负荷经济分配系统; 而现代则是利用电子计算机实现自动调频及经济调度。

图4 主导发电机调频系统示意


图5 虚有差调节法调频系统示意

随便看

 

离鸟网收录3541549条中英文词条,其功能与新华字典、现代汉语词典、牛津高阶英汉词典等各类中英文词典类似,基本涵盖了全部常用中英文字词句的读音、释义及用法,是语言学习和写作的有利工具。

 

Copyright © 2004-2024 vtrois.com All Rights Reserved
更新时间:2026/4/8 6:43:49