网站首页  词典首页


请输入您要查询的字词:

 

字词 电算x线体层摄影在肿瘤诊断上的应用
类别 中英文字词句释义及详细解析
释义
电算X线体层摄影在肿瘤诊断上的应用

电算X线体层摄影在肿瘤诊断上的应用

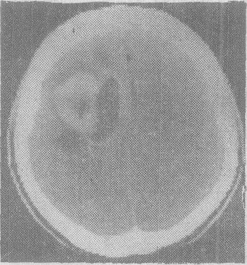
电算X线体层摄影(computed tomography,简称CT)对颅脑肿瘤诊断的价值最大,其次对腹部实质脏器如肝、胰、肾肿瘤的诊断效果较好,胸部CT扫描对鉴别纵隔内肿瘤实性或囊性很有帮助,能显示纵隔遮盖区肺内瘤块。电算X线体层扫描摄影是结合X线体层摄影的原理,通过高灵敏度的检测器,测量被X线照射的人体不同组织的吸收量(X线衰减量),再将X线体层扫描所测得的大量数据经计算机处理,最后获得高分辨力的影象。颅脑CT扫描 CT扫描是无创伤性检查方法,发现颅内占位性病变的准确率约为98%,能发现较小的瘤灶,判断转移瘤是单发或多发(图1)。CT也用于明确术后有无残存肿瘤或复发、脑水肿及出血,以及放射治疗后脑损伤等。

图1 脑转移癌,单发,左额,顶叶。CT扫描见左额、顶叶深部有不规则肿块,有造影剂增强。手术大部切除,病理诊断为转移腺癌,左额、顶叶深部(病人患左肺癌手术后5年)


腹部CT扫描 腹部肿瘤的早期诊断颇为困难,CT可以显示腹部脏器的解剖和密度,发现较小的瘤灶,并可同时发现几个脏器的病变。CT能发现小达2厘米左右的小肝癌灶。肝细胞癌的CT表现主要为肝内低密度区和突出肝轮廓外的瘤块。胰腺是最难检查的器官,近年采用超声扫描和CT取得较大的进展。CT扫描可显示胰腺的全貌,胰腺局部不成比例增大是胰腺肿瘤诊断的主要依据,其次为肿瘤压迫周围器官所引起的间接改变(图2)。胰腺肿瘤诊断准确率达87%。CT对发现肾占位病变效果较好,能够发现临床检查阴性、静脉肾盂造影正常表现的肾肿瘤,CT诊断肾囊肿的准确率达100%。腹膜后肿瘤特别是恶性淋巴瘤侵犯腹膜后淋巴结,CT扫描能显示瘤块范围,并能显示肿大的肠系膜淋巴结。

图2 胰头癌,经放射治疗有明显缩小。胰头部肿块(如箭头所示),右侧为充有造影剂的十二指肠降段


胸部CT扫描 CT在胸部主要用于显示纵隔及纵隔遮盖区如奇静脉食管窝、心后区和脊椎旁的病变,此外对肺外围胸膜下病灶显示较好。CT从横断面显示纵隔肿瘤的范围,分辨肿瘤内组织密度如肿瘤内含脂肪组织和钙化,判断肿瘤为实性或囊性。CT能显示普通X线胸片不易发现的奇静脉食管窝、心后区和脊椎旁的瘤块。CT对判断肿瘤侵犯胸膜、心包以及纵隔淋巴结转移等都有帮助。CT能发现肺外带胸膜下较小的转移瘤,这类病变在普通胸片不易被发现。
☚ 颅脑和脊髓肿瘤X线诊断   内窥镜检查 ☛
00017875
随便看

 

离鸟网收录3541549条中英文词条,其功能与新华字典、现代汉语词典、牛津高阶英汉词典等各类中英文词典类似,基本涵盖了全部常用中英文字词句的读音、释义及用法,是语言学习和写作的有利工具。

 

Copyright © 2004-2024 vtrois.com All Rights Reserved
更新时间:2026/4/7 21:28:36