网站首页  词典首页


请输入您要查询的字词:

 

字词 皮托管
类别 中英文字词句释义及详细解析
释义
皮托管

皮托管pituo guan

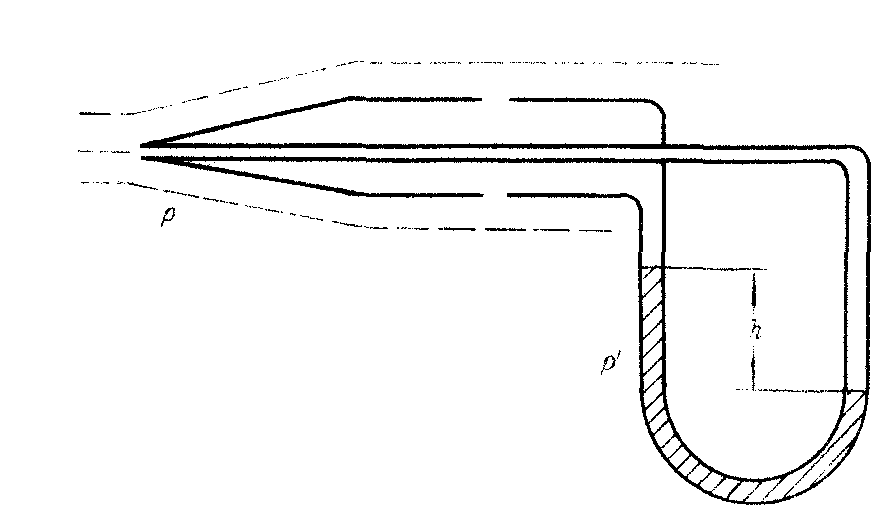
一种测量流体流速的仪器。其工作原理可由伯努利方程来解释。用皮托管测量流体的流速时,必须与流体接触,这使流体原来的流动状态受到干扰,给测量的精确度带来了不利影响,是皮托管的不足。18世纪,曾有过河渠内水流的速度随深度增加而增加的理论。法国水力工程师H.皮托对这一问题进行了研究,他设计了一种开口对着水流的管子测量流速,结果发现流速随深度增加的理论是错误的。由于用皮托管测流速既简单又迅速,因此很受欢迎,很快得到广泛采用。对于河水或渠水,可用最简单的皮托管测流速,见图1。A点的流速为vA=,式中h为皮托管中的水面与外部水面的高度差,ρ为水的密度,g为重力加速度。实际应用时,上式应改用vA=C,式中c为皮托管的修正系数,可由实验来确定。对于管道中流体的流速,可以用图2所示的皮托管。其中,上图是测量液体的皮托管,公式同上:下图是测量气体的皮托度和U型管中液体密度。对大气中飞行物体(如飞机)来说,测量自身运动速度(空气相对于飞行物体的流


图1


图2


图3

☚ 流量计   文丘里管 ☛
00014330
随便看

 

离鸟网收录3541549条中英文词条,其功能与新华字典、现代汉语词典、牛津高阶英汉词典等各类中英文词典类似,基本涵盖了全部常用中英文字词句的读音、释义及用法,是语言学习和写作的有利工具。

 

Copyright © 2004-2024 vtrois.com All Rights Reserved
更新时间:2026/4/7 0:23:38