网站首页  词典首页


请输入您要查询的字词:

 

字词 磁电系电流表
类别 中英文字词句释义及详细解析
释义
磁电系电流表

磁电系电流表cidianxi dianliu biao

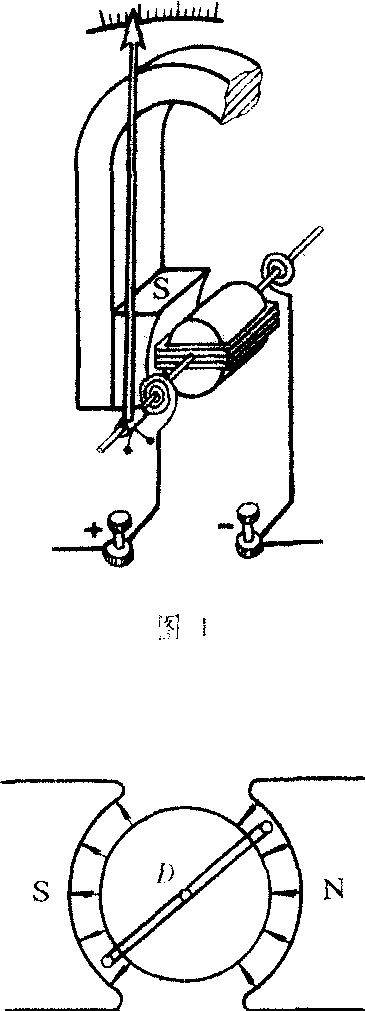
利用载流线圈在磁场中受力偶矩的作用而转动的原理制作的仪表。它属于指针式电测量指示仪表中常用的三大类(磁电系、电磁系、电动系)中的磁电系一类。其结构如图1所示。在蹄形磁铁的两极间放置一圆柱形铁心,其作用是增强磁极和软铁心之间空隙的磁场,并且使磁感应线沿径向分布,如图2所示。


图2


在磁极和铁心间的缝隙中有一个可绕固定轴转动的轻铝框,其上有用细绝缘导线绕制的矩形线圈。铝框转轴的两端分别连接两个相互反绕的游丝。两游丝外圈的端点经导线与接线柱相联,两游丝内圈端点分别与线圈相联。转轴的一端固定一根指针,它随框的转动而沿刻度盘转动。电流由“+”接线柱流入,经游丝、矩形线圈、游丝,由“-”接线柱流出。当没有电流时,线圈处于平衡位置,指针指在零点。当有电流I流过线圈时,线圈在磁场中将受到力偶矩而转动。由于在工作范围内磁场是径向均匀分布的,无论线圈偏转到什么位置,矩形线圈两个长边受到的力始终和线圈平面垂直,所以偏转力偶矩不随转角而变,总有M=nISB,式中n是线圈的匝数,I是通过线圈的电流,S是线圈的有效面积,B是磁感应强度。线圈转动时,游丝发生形变,游丝在外力矩作用下相对于平衡位置转过角度a时,恢复力矩为M′=ka(k为扭转常数),当磁场对线圈的力偶矩M与游丝的恢复力矩M′相等时,线圈停止转动。这时ka=nISB,因此a=nSB/kI。对于同一个仪表来说,n、S、B都是不变的,可见指针偏离平衡位置(零点)的角度a与电流I成正比,因此,只要测出a便可测出I。
磁电系电流表在电磁测量中得到广泛应用,它可以改装成各种量程的电流表、电压表和欧姆表等,具有灵敏度高、精度高、功率消耗小等优点。但绕制线圈的导线很细,允许通过的电流很弱,如果通过的电流超过允许值,将会把线圈烧断。使用时要特别注意。
☚ 左手定则   半导体 ☛
00014781
随便看

 

离鸟网收录3541549条中英文词条,其功能与新华字典、现代汉语词典、牛津高阶英汉词典等各类中英文词典类似,基本涵盖了全部常用中英文字词句的读音、释义及用法,是语言学习和写作的有利工具。

 

Copyright © 2004-2024 vtrois.com All Rights Reserved
更新时间:2026/4/7 7:21:22