示教电表shijiao dianbiao
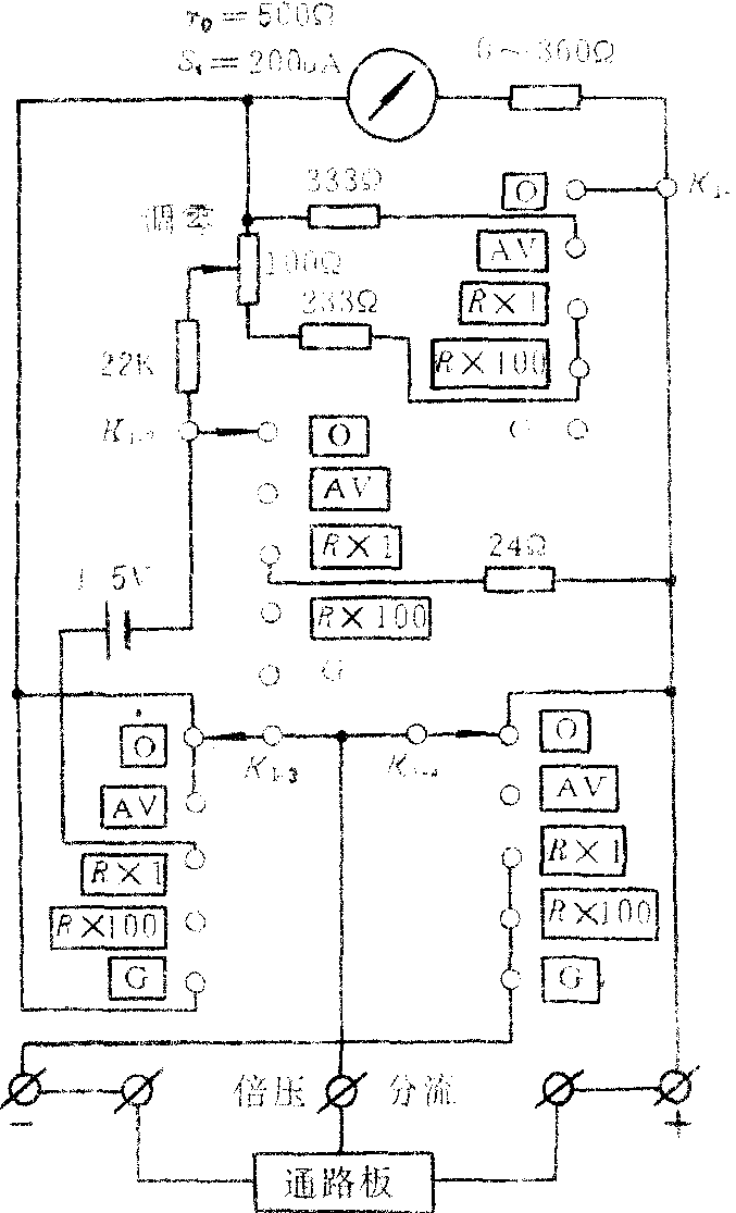
演示测量交直流电压、电流及直流电阻并可作检流计用的仪表。属于磁电系仪表。线圈分为工作绕组与阻尼绕组两部分,工作绕组接测量电路,阻尼绕组在指针摆动时提供磁阻尼。J0401型示教电表的电路原理如图所示。

电表备有10块通路板,供选用。使用时根据待测电量的性质、测量范围,按下表选配通路板与表盘。作检流计用时,不加通路板。

| 零件名称 | 材料及数据(单位:mm) | 阻值 |
1A分流器 5A分流器 10V倍压电阻 25V倍压电阻 1A分流器 25V倍压电阻 250V附加电阻 零欧姆调整器 限流电阻 并联电阻 | φ0.9裸锰铜线 φ1.3裸锰铜线 金属膜电阻 金属膜电阻 φ0.64漆包锰铜线 金属膜电阻 金属膜电阻 线绕电位器 金属膜电阻 φ0.06~0.07漆包锰铜线 | 0.1Ω 0.02Ω 20kΩ、1/8W 50kΩ、1/8W 0.65Ω 22kΩ、1/8W 223kΩ、1/2W 680Ω 2.2kΩ、1/8W 340Ω(355Ω) |
R×100电阻档 电阻 | 精密金属膜电阻 | 233Ω |
| R×1电阻档电阻 | 精密金属膜电阻 | 24Ω |