网站首页  词典首页


请输入您要查询的字词:

 

字词 简易冰刀的制作
类别 中英文字词句释义及详细解析
释义
简易冰刀的制作

简易冰刀的制作

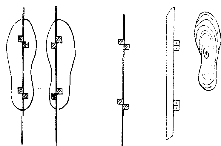
简易冰刀的形式很多。其中较为方便制作的有:
❶将1~1.5厘米厚的木板按鞋的大小制成鞋底形;用1.5~2毫米厚的铁板制成冰刀,焊上铁片,再用螺丝拧到木板上。
❷将直径10厘米的圆木截成鞋底长,从中间锯开,在半圆的中部锯一条缝,将1.5~2毫米厚的铁板制成的冰刀镶入缝中固定好;在平面的边沿穿孔,用带子绑在鞋上即可。
❸用1.5~2毫米厚的铁板仿制成冰刀,直接固定在硬底的高腰皮鞋上。



冰刀制作一


冰刀制作二

☚ 冰鞋的选择与穿法   冰刀的磨法 ☛
简易冰刀的制作

简易冰刀的制作Jianyi bingdao de zhizuo

指无法解决正式冰刀时自己制做简易冰刀。找一块直径10厘米左右、质地坚硬、长度与鞋底相同的圆木,从中间锯成两个半圆形,将半圆的中央顺锯一道缝,缝的深度和宽度, 以冰刀片镶入合适为标准。再将厚1. 5毫米、宽约4—5厘米,稍长于木板的铁或钢片镶入半圆木缝内作为刀刃,要求越结实越好,并将铁或钢片磨出内外刃来,再自半圆木的两侧穿上较宽的带子,滑时绑在鞋上即可。

☚ 选择冰鞋   冰球运动 ☛
00010187
随便看

 

离鸟网收录3541549条中英文词条,其功能与新华字典、现代汉语词典、牛津高阶英汉词典等各类中英文词典类似,基本涵盖了全部常用中英文字词句的读音、释义及用法,是语言学习和写作的有利工具。

 

Copyright © 2004-2024 vtrois.com All Rights Reserved
更新时间:2026/4/6 20:21:00