网站首页  词典首页


请输入您要查询的字词:

 

字词 粉尘采样器
类别 中英文字词句释义及详细解析
释义

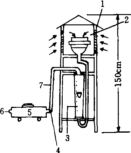
粉尘采样器dustsampler

用于测定大气飘尘的取样装置。主要由抽气机或吸尘器、气体流量计和采样夹组成。工作时,将一张直径110 mm的玻璃纤维滤纸,经干燥器干燥6 h后,称重,将其固定于百叶箱中的采样夹上,抽气机工作后,气样经采样夹、流量计进入抽气机排出。根据时间和流量可计算出气体采样体积,再依滤纸上重量的增加可测得飘尘量。该装置结构简单,可以自制,亦有定型产品。

粉尘采样器示意图

1.百叶箱 2.采样夹 3.流量计 4. 流量调节孔 5.抽气机 6.排气口 7. 导气管

随便看

 

离鸟网收录3541549条中英文词条,其功能与新华字典、现代汉语词典、牛津高阶英汉词典等各类中英文词典类似,基本涵盖了全部常用中英文字词句的读音、释义及用法,是语言学习和写作的有利工具。

 

Copyright © 2004-2024 vtrois.com All Rights Reserved
更新时间:2026/4/6 22:34:23