网站首页  词典首页


请输入您要查询的字词:

 

字词 脊髓
类别 中英文字词句释义及详细解析
释义

脊髓jǐsuǐ

人和脊椎动物中枢神经系统的一部分,在椎管里边,是许多简单反射活动的中枢。

脊髓jǐ suǐ

中枢神经的一部分。1855年1月《遐迩贯珍》第一号:“在枕骨之下,有一大孔,恰居头之正中,至禽兽则渐趋而后,故不能如人之只用两足直立而行。此大孔乃脊髓所由出,孔外两旁有凸节,以安放第一节颈骨。”1857年合信《西医略论》卷中:“脊髓由脑直生而下者也,脊骨与头骨相连,髓质与脑质同类。”◇脊脑筋。

脊髓spinal cord

中枢神经系统的低级部分。位于椎管内。前与脑相接,向后伸达荐部变细而形成脊髓圆锥,末端为丝状称为终丝。脊髓可分为颈部、胸部、腰部和荐部4部分。在四肢动物,其颈部和腰部略膨大,分别称为颈膨大和腰膨大,由该处发出神经纤维到前、后肢。低等脊椎动物脊髓切面呈圆形或椭圆形,高等脊椎动物为两侧对称形,切面可清晰分为两部分。中央称灰质,分布于髓腔(脊髓中央管)周围,大多数脊椎动物的灰质呈“H”型或蝶翼形,可分为背角(联络神经元集中之处)、腹角(运动神经元集中之处)和侧角(胸、腰部,自主神经元集中之处)。外周称白质,由神经纤维所组成,被灰质相应分隔为背索、侧索和腹索。髓腔与脑室相通,内有脑脊液。脊髓外面有3层脊膜,分别称为脊软膜、脊蛛网膜和脊硬膜。脊髓不仅是脑与周围神经间的传导径路,也存在某些低级反射中枢。

脊髓的横断面

1. 椎弓 2.硬膜外腔 3. 脊硬膜 4. 硬膜下腔 5. 背侧根 6. 脊神经节 7 . 腹侧根 8. 背侧灰柱 9. 腹侧灰柱 10. 腹侧索 11. 外侧索 12. 背侧索 13.蛛网膜下腔

脊髓

位于人体椎管内,上端于枕骨大孔处与延髓相接,下端约平第1腰椎体下缘,其末端变细呈圆锥状。成人脊髓长约42~45 cm。脊髓全长有两处膨大,颈膨大由第5颈节至第1胸节构成,腰骶膨大位于第2腰节至第3骶节之间。脊髓自前外侧沟依次穿出31对脊神经前根,后外侧沟依次穿入31对脊神经后根。

脊髓

脊髓jisui

中枢神经系统的低级部位。位于椎管内,呈扁平柱形,上端平枕骨大孔和脑相续,下端呈圆锥形。成人的圆椎末端在第一腰椎下缘,全长约45厘米,平均重30克,在颈部与腰部有两个膨大,与四肢功能有关。从横切面上看,中央为蝴蝶形灰质,周围由白质组成。灰质中央有中央管切面。灰质向后外突出的部分为后角,与脊神经的后根相连,内含中间神经元;向前方突出的部分为前角,内含运动神经元,其纤维构成脊神经前根;侧角内含植物性神经元。白质由神经纤维组成,按位置可分前索、侧索和后索。分别把脑和脊髓及脊髓内各段联系起来。脊髓的功能有两个方面:一是传导功能,来自大部分器官的神经冲动,先经后根入脊髓,后经上行传导束到脑,脑发出的大部分冲动,通过下行传导束传到脊髓,再经前根传至全身大部分器官。二是反射功能,脊髓灰质中有许多低级的神经中枢,可完成某些基本的反射活动,如排便、排尿等内脏反射和膝跳反射、跖反射等躯体反射。正常情况下,脊髓的反射活动都是在高级中枢控制下进行的。当脊髓突然横断,与高级中枢失去联系后,会产生暂时性的脊休克。脊髓损伤可中断某一水平的生理功能。目前由于医学进步,许多脊髓损伤病人已有可能恢复其生理功能。

☚ 中间神经元   脊髓灰质炎 ☛
脊髓

脊髓jisui

位于椎管内的圆柱形神经结构,前后稍扁,外包被膜,与脊柱的弯曲一致。上端平枕骨大孔与延髓连接, 下端平齐第一腰椎下缘。脊髓末端变细,称为脊髓圆椎。自脊髓圆椎向下延为细长的终丝,是无神经组织的细丝,向下止于尾骨背面。根据每对脊神经的出入范围,脊髓可划分为31节:8个颈节,12个胸节,5个腰节,5个骶节,1个尾节。脊髓全长粗细不等,有两个膨大部:颈膨大和腰骶膨大。两个膨大的出现,系该节段内的神经细胞和纤维较多所致,膨大的成因则与肢体的发达有关。颈膨大相当于臂丛发出的节段,支配上肢;腰骶膨大相当于发出腰骶丛的节段,支配下肢。脊髓各节段内部结构的总的特征是一致的,在脊髓的横断面上,中央管的周围是H形的灰质,主要由神经细胞体和纵横交织的神经纤维构成,灰质的外面是白质,主要是纵形排列的纤维束。脊髓的主要功能是发出运动神经纤维控制身体的肌肉和腺体的活动,以及收集身体的各种感觉信息向脑传送。在正常生理状况下,脊髓的许多种类活动是在脑的控制下完成的,但脊髓也可以完成一些简单的反射活动。

☚ 低级神经中枢   中枢神经系统 ☛

脊髓

脊髓jisui

中枢神经系统的一部分。脊髓位于椎管内 (比椎管短),呈扁圆形,上端和脑相续,下端呈锥状,称脊髓圆锥。在成人,圆锥的末端达第一腰椎的下缘,而新生儿达第三腰椎平面。成人的脊髓全长约45厘米,平均重约30克。新生儿脊髓重2~6克。1岁时重量增加1倍,3岁时重量增加到出生时的3倍,到性成熟期,重量达30克。脊髓实质包括位于内部的神经细胞和位于外部上、下行神经纤维。脊髓共分31个节段,其中颈髓8节,胸髓12节,腰髓5节,骶髓5节,尾髓1节。每一节脊髓与一对脊神经相连接。由脊髓两旁发出的31对脊神经,广泛分布于全身的各部分。脊髓是脑和全身的联系通道。人体除头面部外,大部分的感觉信息都由传入神经传到脊髓,再由脊髓上传到脑,大脑经过分析与综合后发出 “命令”,通过脊髓传到效应器,引起效应器的反应。此外,脊髓的各节段也是反射中枢,如膝反射的中枢在脊髓的腰髓节内,排尿、排便反射中枢在脊髓的骶髓节内,如果脊髓的下部受到损伤,可发生膝反射消失和大小便失禁。

☚ 自主神经   脑 ☛

脊髓spinal cord

系神经系统的中枢部之一,与大脑相比,属于较古老的低级中枢。脊髓位于椎管内,呈前后略扁的圆柱形,外包被膜,与脊柱的弯曲一致。脊髓上端平对枕骨大孔,连接延髓,下端在平齐第1腰椎下缘处,终于脊髓圆椎的下端,长约45cm。自脊髓圆椎向下延为1根细长的终丝(终丝已无神经组织),止于尾骨背面的骨膜。脊神经共31对,脊髓的表面亦可以借神经根的出入分为31节:即颈8节、胸12节、腰5节、骶5节、尾1节。成人第1腰椎以下已无脊髓,故临床上可在第3、4 腰椎间进行腰椎穿刺;而腰、骶、尾部的神经根在没出相应的椎孔之前,已有1段在椎管内走行,它们围绕终丝形成马尾。脊髓在全长中有颈、腰两个膨大部;贯穿其前、后有两个沟裂,前面的叫前正中裂,后面的叫后正中沟;前、后两沟裂外侧又分别有较浅的沟,分别叫前外侧沟和后外侧沟。脊髓水平切面后,中间呈蝴蝶形灰色的叫灰质,主要由脊髓神经细胞构成;其周围白色部分叫白质,由神经纤维构成。灰质中又有向白质方向突出的部分,分别叫前角、侧角和后角。白质中有上、下行的纤维束。脊髓由于各部分的构造与功能不同,因此发生不同病变时其表现亦不同。脊髓多见的疾病有炎症、肿瘤、变性、血供障碍及外伤等。

脊髓

中枢神经的一部分,位于椎管内,呈前后略扁的圆柱形。上端连接延髓,下端止于终丝。内部是神经细胞集成的灰质,中央有一条很细的中央管,外部是神经纤维集成的白质。从脊髓的两旁发出成对的脊神经,分布到皮肤、肌肉和内脏器官。它具有传导功能,把身体的周围部分与脑的各部分连接起来,并有反射功能,形成各种反射活动,脊髓损伤后主要表现为感觉和运动的障碍。

脊髓

脊髓

人和脊椎动物中枢神经系统的低级部位,位于椎管中。上(前)端连接延脑,下(后)端止于终丝。全长呈长柱状。内部是神经细胞体集中的灰质,中央有一条很细的中央管,外部是由神经纤维集成的白质。脊髓的表面有6条纵贯全长的沟。前面正中有一条深沟,称为正中裂;后面正中有一条浅沟,称为后正中沟;前正中裂的两侧各有一条前外侧沟;后正中沟的两侧各有一条后外侧沟。脊神经的前根自前外侧沟发出,由运动神经纤维组成,分布到皮肤、肌肉和内脏器官,以调节其活动。脊神经的后根则从后外侧沟进入脊髓,由感觉神经纤维组成,主要传导来自下肢和躯干的本体感觉冲动,以及痛觉、温觉、触觉、压觉等冲动。在有四肢的脊椎动物中,脊髓的颈部和腰部略膨大,由此发出的脊神经支配上(前)肢和下(后)肢的活动。脊髓是周围神经与脑之间的通路,也是许多简单反射活动的中心。

☚ 脑干   交感神经 ☛

脊髓spinal cord

是中枢神经低级部分,位于椎管内,外被三层被膜。呈扁圆柱状,于枕骨大孔处与延髓相续,成人下端达第1腰椎水平终于脊髓圆锥。支配四肢的神经元数量增加,形成颈膨大和腰骶膨大。脊髓表面有31对脊神经根附着。脊髓中央管周围有“H”形的灰质,分为前角、中间带和后角;灰质周围为白质,由上升或下降的纤维束组成,分为前索、侧索和后索,通过这些纤维束及31对脊神经使高级中枢与全身各部联系。

脊髓

脊髓

脊髓位于椎管内,外包脊膜,它与脑共同组成中枢神经系;二者的分界约在锥体交叉的下端或C1脊神经最上根丝平面。脊髓借脊神经、灰质和固有束执行脊髓的固有反射活动(躯体的和内脏的反射等),也借其上、下行纤维束与脑的不同水平相联系。在正常情况下,脊髓的绝大多数活动是在脑的调控下完成的。
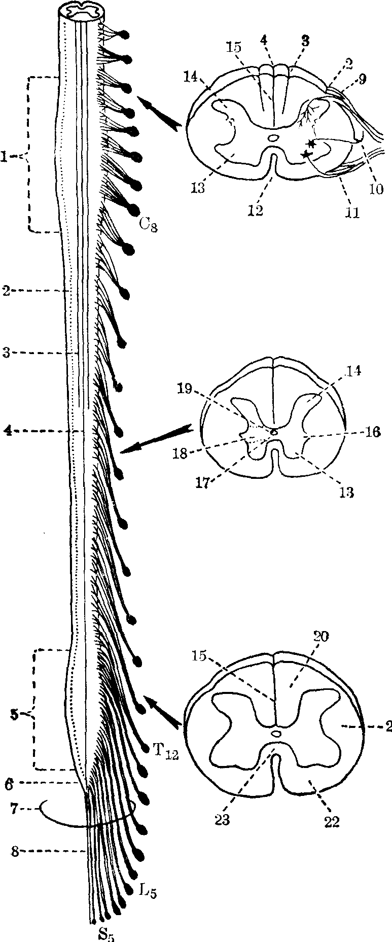
脊髓的外形 呈圆柱形,前后略扁,分为31节,计颈段8节、胸段12节、腰段5节、骶段5节、尾段1节。脊髓与上、下肢有关的部分较粗大,分别形成颈膨大(颈3~腰1)及腰骶膨大(胸1~骶3)。腰骶膨大以下,脊髓急骤变细,以脊髓圆锥告终 (图1)。脊髓圆锥的尖端连一纤维性细束,称为内终丝。内终丝在第2骶椎平面又包以硬膜组织,称为外终丝,末端连于第2尾椎体后面。脊髓表面有数条纵向行走的沟(裂): 前正中裂较深;后正中沟较浅;后外侧沟窄而明显,后根丝沿此沟入脊髓;前外侧沟宽而浅,前根丝沿沟出脊髓。在胸髓上部及颈髓,后外侧沟与后正中沟之间有后中间沟,是薄束及楔束的分界。
脊髓的前、后根丝集合成31对前根和后根,脊髓据此分为31节。除第1颈神经(颈1)的后根可能较细小或缺如外,其余脊神经的后根上都有一个膨大的节,位于椎间孔附近,内含假单极神经元。前、后根合并成脊神经,经椎间孔出椎管。在颈髓上部(可低达颈56节),前、后根之间有副神经根自外侧索发出,位于齿状韧带后方。
脊髓与脊柱的位置关系 脊髓位于椎管内,上经枕骨大孔与延髓相续。于胎儿早期,脊髓约与椎管等长,三月后脊髓的生长速度落后于脊柱,致使脊髓下端在椎管内的位置逐渐上升。出生时脊髓下端约在第3腰椎平面,至成年人则位于第1腰椎下缘(男)或第2腰椎(女),高位者可达第12胸椎的下1/3;低位者可达第2~3腰椎

图1 脊髓的外形及一般构造
C8,颈8神经节 T12,胸12神经节 L5: 腰5神经节S5:骶5神经节 1.颈膨大 2. 后外侧沟 3.后中间沟 4.后正中沟 5.腰骶膨大 6.脊髓圆锥 7.马尾 8.终丝 9.后根丝 10.副神经 11.前根丝 12. 前正中裂 13.前角 14.后角 15.后正中隔 16.侧角 17.灰质前联合 18.中间灰质 19.中央管 20.后索 21.外侧索 22.前索 23. 白质前连合

之间;脊柱屈曲时脊髓的下端稍上提。在脊髓圆锥以下,椎管内只有围在内终丝周围的腰骶神经根丝,合称马尾。脊髓在椎管内的位置偏前,脊柱屈曲时脊髓前移,伸时则后移。椎间盘突出或黄韧带增厚可能压迫脊髓。由于脊髓与脊柱的长度不同,故与同序数的椎体及棘突之间有一定的相对关系。一般说,颈髓上部的节段与相应椎体平齐,颈髓下部及胸髓上部比同序数的椎体高1节,在胸

图2 脊髓的被膜
1.椎板 2.齿状韧带 3.脊神经后支 4. 脊神经前支 5.蛛网膜下腔 6.后纵韧带 7.软脊膜 8. 脊神经前根 9.脊神经节 10.脊神经后根 11.蛛网膜 12.硬膜外静脉丛 13.硬膜外腔 14.硬脊膜

髓中部高2节,在胸髓下部高3节,腰髓位于第11~12胸椎平面,骶尾髓在第12胸椎及第1腰椎平面。脊髓节段与棘突的对应关系,在颈、腰椎部大致与其与椎体的对应关系相同,在胸椎部因棘突明显下降,棘突序数较椎体序数高1节。
脊髓一般构造 周边部由白质构成,内部为灰质(图1、2)。灰质在横断面上略呈“H”形,中央有一小管,称为中央管,贯脊髓之全长,但成人常有部分阻塞。管之下端稍膨大,形成长约8~10mm的终室。中央管向上与延髓中央管相续,内含脑脊液。灰质分为后角(柱)、前角(柱)及两者之间的中央灰质。在胸髓及上腰髓的中间灰质向外侧突出而成为侧角 (柱)。两侧灰质横连以灰质连合,在中央管前方者为灰质前连合,后方者为灰质后连合。中央管内衬以室管膜上皮,周围有一层中央胶状质,主要由胶质细胞组成。每侧白质以前、后外侧沟为界分为前索、外侧索及后索。两侧后索之间有一由胶质细胞及软脊膜形成的后正中隔将之隔开。灰质前连合前方有脊髓两侧的交叉纤维构成白质前连合。灰质后连合后方也有少量类似纤维,称白质后连合。
☚ 自主神经在重要器官的分布   脊髓的灰质 ☛

脊髓

spinal marrow(/cord)

随便看

 

离鸟网收录3541549条中英文词条,其功能与新华字典、现代汉语词典、牛津高阶英汉词典等各类中英文词典类似,基本涵盖了全部常用中英文字词句的读音、释义及用法,是语言学习和写作的有利工具。

 

Copyright © 2004-2024 vtrois.com All Rights Reserved
更新时间:2026/4/6 22:13:38