网站首页  词典首页


请输入您要查询的字词:

 

字词 螫针
类别 中英文字词句释义及详细解析
释义

螫针sting

雌性蜜蜂腹部末端具有螫刺作用的器官。由产卵器特化而成。其基部与毒囊等相连,近端部具有倒钩。毒囊接受由毒腺分泌的毒液。不用时,螫针隐藏于第7腹节折入的刺囊内,并纳于背产卵瓣之间。工蜂受侵袭而被迫行刺时,腹部末端朝下弯曲,螫针露出刺入敌体,毒液通过螫针注入敌体,针越刺越深,由于有倒钩而不能退出,整个螫针连同基部的毒囊等,一并被拉出,留在敌体上。此时,连接螫针和毒囊的肌肉在交感神经的作用下,还会有节奏地收缩,使螫针继续深入、射毒。失却螫针的工蜂,不久便会死亡。蜂王的螫针比工蜂粗,略弯曲,倒钩比工蜂少且小,一般只在与其他蜂王搏斗或破坏王台时施用。

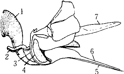
工蜂的螫针

1.毒囊 2.碱腺 3.中针梃 4.螫针梃 5.螫针(腹产卵瓣) 6.中针(内产卵瓣) 7.背产卵瓣

螫针

螫针shizhen

蜜蜂、胡蜂等膜翅目昆虫的腹部具有蜇刺作用的一种针状结构,称为螫针。它由产卵器变成,内连接毒腺,可将分泌的毒液注入被刺动物体内,严重时可引起小动物死亡。因螫针有倒生刺,不易拔出,当蜇刺时,有时可将自身的腹部内脏器官带出,蜂也随之死亡。

☚ 平衡棒   蜂毒 ☛
螫针

螫针

工蜂、蜂王或胡蜂的腹腔内具有螫刺作用的一种进攻和自卫针状结构。由2根相互钳合的坚硬刺针构成,内连毒腺,可作为武器将分泌的毒液注入被刺动物的体内,严重时可引起小动物死亡。因螫针上生有倒刺,不易拔出,当螫刺动物时,有时可将自身的腹部内脏器官带出,由于与蜂体脱离而受伤,致使工蜂不久死亡。在花丛中飞舞的蜜蜂,仅有少数不螫人的雄蜂,大多为能螫人的工蜂,不要随便用手捕捉它,以免被螫伤。

☚ 分蜂   蜜囊 ☛

螫针

sting

随便看

 

离鸟网收录3541549条中英文词条,其功能与新华字典、现代汉语词典、牛津高阶英汉词典等各类中英文词典类似,基本涵盖了全部常用中英文字词句的读音、释义及用法,是语言学习和写作的有利工具。

 

Copyright © 2004-2024 vtrois.com All Rights Reserved
更新时间:2026/4/8 22:22:39