网站首页  词典首页


请输入您要查询的字词:

 

字词 负载换档机构
类别 中英文字词句释义及详细解析
释义

负载换档机构power shift mechanism

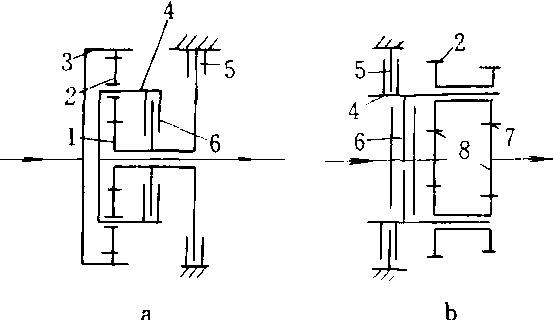
又称动力换档机构。能使拖拉机在持续负载作业情况下换档的装置。多数农用拖拉机装有齿轮有级式普通换档变速箱。在田间作业时,由于工作阻力的增加,需要更换工作档,否则拖拉机将在超负荷下工作,影响拖拉机使用寿命。换档时,要松开离合器,切断动力,拖拉机停驶,重新挂档起步和加速,才能继续进行正常工作;有时还需提起农具,降低负载或倒车后,再挂档起步,生产效率和作业质量都受到影响。采用负载换档机构,即可连续作业,提高生产率10%~20%。负载换档变速箱分全程式和分段式两种。前者各档都可负载换档,在整个拖拉机速度范围内,拖拉机牵引力和速度可连续(有级)地改变;后者是将全程式的档速范围分成几段,各段之间的换档要分离主离合器,采用普通换档方式,而每段内的各档(一般有2~4档)可负载换档。其中两档负载换档由于结构比较简单,造价也低,已被广泛采用。

两档负载换档机构

a.内啮合行星式 b. 外啮合行星式

1. 太阳轮 2. 行星轮 3. 齿轮 4. 行星架 5. 制动器 6. 离合器 7. 输出太阳轮 8. 输入太阳轮

随便看

 

离鸟网收录3541549条中英文词条,其功能与新华字典、现代汉语词典、牛津高阶英汉词典等各类中英文词典类似,基本涵盖了全部常用中英文字词句的读音、释义及用法,是语言学习和写作的有利工具。

 

Copyright © 2004-2024 vtrois.com All Rights Reserved
更新时间:2026/4/7 9:12:53