网站首页  词典首页


请输入您要查询的字词:

 

字词 运材架空索道
类别 中英文字词句释义及详细解析
释义

运材架空索道skyline for log transport

利用在架空承载索上运行的跑车(见集材架空索道)进行运材的设备。通常与汽车运材相衔接,多用于山高坡陡、地势起伏大、汽车道难于修建或修建费用过高的地区。索道长为1~5公里。运材架空索道有双线循环式和单线循环式两类。
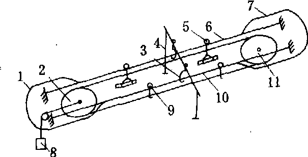
双线循环式运材索道 由承载索、牵引索、跑车、中间支架、装卸站台、驱动装置等组成(图1)。驱动轮

图1 双线循环式运材索道
1.卸车站台;2.被动轮;3.支承鞍座;4.中间支架;5.重载跑车;6.重车承载索;7.装车站台;8.配重;
9.空载跑车;10.空车承载索;11.驱动轮

为摩擦式,驱动牵引索作循环运行,并用配重予以张紧。重载跑车和空载跑车分别在各自的承载索上运行。运材索道两头各设装车站台和卸车站台,站台上设平车道。为便于装卸,承载索以装车站台引出时要往上倾斜成仰角,进入卸车站台后向下构成俯角。此外,装车站台稍呈下坡,卸车站台却稍呈上坡。这样,重载跑车开始沿承载索运行后即与平车脱离。悬吊木捆进入卸车站台后与平车道的空间逐渐变小,最后使木捆平稳地落在平车上。承载索靠支架悬吊于空中,支架可用木材、钢材或天然立木等制成;中间立木支架应选择根系发达的立木,缠绑绷索处的树干直径一般不小于20~26厘米,支架中两立木的间距不小于6米,在两立木间的水平绷索上悬挂鞍座。承载索贴附鞍座上的曲面座板并用盖板固定。吊架一般用圆钢管制成,侧面焊以筋板以提高刚度。双线循环式运材索道的最大允许回空坡度为26°。当运距为2公里时,平均班产120~150立方米。运材时在装车站每隔一定距离发出一辆重车,同时在卸车站相应地也发出一辆空车,它们靠钢索牵引。跑车与牵引索的联结靠跑车上的专门夹索器。夹索器的类型较多,大致可分楔式、螺旋式和重力式数种。简易式重力夹索器实际上是两个铁环,它套在跑车的吊架上,同时又套上吊钩。两铁环间即穿过牵引索,当吊起木捆后,两铁环在重力作用下自然互相靠紧就把牵引索夹紧了。

图2 单线循环式运材索道
1.牵引卷筒;2.张紧装置;3.吊挂木材;4.齿形导向滑车;5.循环牵引索


单线循环式运材索道 也称曲折式索道。由循环牵引索、挂钩、齿形导向滑车和绞盘机等组成(图2)。适于单株材积在0.5立方米以下的原条集材,平均坡度在20°以下,最大不得超过24°。水平转折角8°~130°,双钩载重量为100~120千克,安装拉力为4.5~5千牛。齿形滑车的安装高度为2.5~3米。动力采用8~11千瓦的双筒摩擦式绞盘机。台班产量可达15立方米,为中国的一种新型索道。其关键设备为挂钩和齿形滑车。挂钩用绳索缠在牵引索上后被锁钩钩住。只要向上推动锁杆,即可使挂钩连同绳索从牵引索上脱落。齿形滑车能使牵引索连同挂钩顺利绕过。为此,每一齿的齿根必须与滑车轮槽底相切,使捆木索保持垂直方向通过滑车。
随便看

 

离鸟网收录3541549条中英文词条,其功能与新华字典、现代汉语词典、牛津高阶英汉词典等各类中英文词典类似,基本涵盖了全部常用中英文字词句的读音、释义及用法,是语言学习和写作的有利工具。

 

Copyright © 2004-2024 vtrois.com All Rights Reserved
更新时间:2026/4/7 14:29:21