通风测试
通风测试是对通风设备及对室内气象条件的测试。现将测试方法和常用仪器分述如下:
风速的测定 (1)室内风速的测定:测定室内风速、送风口和排气罩口的风速时,一般使用能测微风速的热电风速计。热电风速计是根据在气流中物体的散热量与气流流速存在一定关系的原理制作的,测量范围较大(可测0.1~30m/s的风速),灵敏度高,使用简便,可直接读数。因测头体积小,可在一般风速计达不到的小空间内用。但不宜在含尘量大、高温或辐射强度大的场所使用。
(2) 管道风速的测定:测定管道风速常用的仪器是皮托管和微压计。常用的皮托管有标准型皮托管和S型皮托管两种。标准型皮托管是一个弯成90°的双层同心管。S型皮托管是由两根开口方向相反的平行金属管组成,适于在尘粒浓度较大的管道中使用。无论标准型或S型皮托管都须同微压计配套使用,才能测出管道内空气的动压,从而计算出风速。
常用的微压计是倾斜式微压计,其基本原理和U形压力计相同,只是为了提高灵敏度将U形管一端扩大成截面积较大的容器。
温度的测定 测量温度常用玻璃温度计,双金属温度计及热电偶温度计等。
玻璃温度计是利用玻璃管内液体(水银或酒精)受热均匀膨胀的原理来测温的。双金属温度计是由两种线膨胀系数不同的金属片焊接在一起,当周围环境空气温度发生变化时,两金属片因线胀系数不同,自由端发生位移,带动指针偏转,反映出温度变化的大小。这种温度计体积大,不能用以测量风道内的气温。热电偶温度计是利用热电效应的原理来测温的。它的特点是反应快,受辐射热影响较小,可进行远距离测量和自动控制。
湿度的测定 测定空气的相对湿度常用干湿球温度计和电阻式湿度计两种。
干湿球温度计由两支完全相同的玻璃温度计组成。其中一支保持干燥状态,测出的温度为空气的干球温度。另一支温包上裹有浸水的纱布,测出的温度为空气的湿球温度。根据干、湿球温度计的读数,查温湿度换算表就可确定空气的相对湿度。干湿球温度计有普通立式、手摇式及通风式等多种。
电阻式湿度计是利用某些吸湿性强的物质在吸湿后电阻发生变化这一原理制成的。根据电阻值与空气相对湿度的关系曲线,就可求出空气的相对湿度。电阻式湿度计反应速度快,便于携带,可用于遥测和自动控制。
辐射热的测定 室内工作地点所接受的辐射热强度用cal/cm2 · min表示。辐射热可能来自一个方向,也可能来自几个方向,因此工作地点辐射热强度的测定方法,有单向辐射热和平均辐射热之分。
黑球温度计是用来测定工作地点平均辐射热强度的。它是一个直径为15cm,厚约0.5mm的中空铜球,外表面用煤烟和胶液的混合物涂成黑色,上部开口插入一温度计,温度计球部位于铜球的中心。受周围辐射热作用时,黑球内温度计的读数上升,结合附近的气流速度和空气温度,即可算出平均辐射热强度。
单向辐射热计常用的是热电堆型,由许多串连在一起的康一铜热电偶所组成。使用时面向一个方向,在辐射热作用下,热电偶堆产生一个和辐射热强度成正比的电动势,从而可求出单向辐射热强度。
管道风量的测定 管道内风量通常是根据测得的管道平均风速乘以管道的断面积而求得的。由于管道内风速受阀门、弯头、三通等影响而分布不匀,测定风速时应选择合适的位置。此外,在同一断面上风速也是不均匀的,故测定较大管道内风速时,应多测若干点取其平均值。
粉尘浓度的测定 室内空气中含尘浓度常用滤膜法测定。它是使一定体积的含尘空气通过已知重量的滤膜,将粉尘阻留在滤膜上,然后根据滤膜的增重,计算出空气中的粉尘浓度。
在测定管道气流的含尘浓度时,通常用一采样管把含尘气流引至管道外加以收集。为了采集有代表性的样品,采样管的抽气速度必须和管道内气流速度相等,这样的采样方法称为等速采样。维持等速采样的方法有预测流量法,静压平衡法和动压平衡法等。
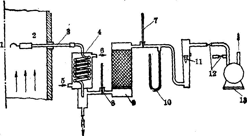
测定管道内气流含尘浓度时,须采用一整套设备,包括采样管、集尘装置、冷凝和干燥装置、流量测量和控制装置以及抽气装置等,其系统见图示。

尘粒采样系统图
1.烟道 2.滤筒 3.采样管 4.冷凝器 5.水入口 6.水出口 7.温度计 8.温度计 9.干燥器 10.压力计 11.流量计 12.螺旋夹 13.抽气泵
有害气体浓度的测定 管道中有害气体浓度分布是均匀的,可在任何一点上采样,不需等速和多点平均。采样系统基本上与尘粒采样系统相同。