网站首页  词典首页


请输入您要查询的字词:

 

字词 切纸机(包括复卷机、分切机)刀片规格表
类别 中英文字词句释义及详细解析
释义 切纸机(包括复卷机、分切机)刀片规格表

1.切纸机下长刀(定刀)规格表

表11-7-43 切纸机下长刀(定刀)规格表

(参见图11-7-69) 单位:mm

2.切纸机上刀长(转刀)规格表

表11-7-44 切纸机上长刀(转刀)规格表

参见(图11-7-70) 单位:mm

3.切纸机上圆刀规格表

(1)平形上圆刀规格表

表11-7-45 切纸机上圆刀(平形)规格表

(参见图11-7-71) 单位:mm

(2)压切切纸上圆刀规格表

表11-7-46 切纸机上圆刀(压切切纸)刀片规格

(参见图11-7-72) 单位:mn

(3)键槽式碟形上圆刀规格表

表11-7-47 键槽式碟形上圆刀规格表

(参见图11-7-73) 单位:mm

(4)小孔式碟形上圆刀规格表

表11-7-48 小孔式碟形上圆刀规格表

(参见图11-7-74) 单位:mm

4.切纸机下圆刀规格表

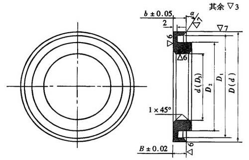
(1)碗形下圆刀规格表

表11-7-49 切纸机下圆刀(碗形)规格表

(参见图11-7-75) 单位:mm

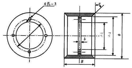
(2)孔式双刃筒形下圆刀规格表

表11-7-50 孔式双刃筒形切纸机下圆刀规格表

(参见图11-7-76) 单位:mm

图11-7-76 孔式双刃筒形下圆刀规格

(3)环式筒形下圆刀规格表

表11-7-51 环式筒形下圆刀规格表

(参见图11-7-77) 单位:mm

注:( )内为参考数字

图11-7-77 环式筒形下圆刀规格

(4)多刃下圆刀规格表

表11-7-52 切纸机多刃下圆刀规格表

(参见图11-7-78,11-7-79) 单位:mm

图11-7-78 多刃下圆刀规格

图11-7-79 多刃下圆刀规格实例

5.分切机上圆刀规格表

(1)键槽形上圆刀规格表

表11-7-53 键槽形上圆刀规格表

(参见图11-7-80) 单位:mm

图11-7-80 键槽形上圆刀规格

(2)花键形分切机上圆刀规格

图11-7-81 花键形分切机上圆刀规格

6.分切机下圆刀规格表

(1)分切机A型上圆刀规格表

表11-7-54 A型上圆刀规格表

(参见图11-7-82) 单位:mm

图11-7-82 分切机A型上圆刀规格

(2)分切机B型上圆刀规格表

表11-7-55 分切机B型上圆刀规格表

(参见图11-7-83) 单位:mm

图11-7-83 分切机上圆刀规格

7.切纸机刀片材质成分表

(1)国产刀片材质成分表

表11-7-56 切纸机国产刀片材质成分表

注:每万吨纸大约消耗国产切纸机刀片2~4t

(2)日本产刀片钢材成分表

表11-7-57 日本产刀片钢材成分表(部分)

注:有的工厂上刀用CMⅣ,下刀用GM,这样耐磨性好。

随便看

 

离鸟网收录3541549条中英文词条,其功能与新华字典、现代汉语词典、牛津高阶英汉词典等各类中英文词典类似,基本涵盖了全部常用中英文字词句的读音、释义及用法,是语言学习和写作的有利工具。

 

Copyright © 2004-2024 vtrois.com All Rights Reserved
更新时间:2026/4/5 17:16:34