网站首页  词典首页


请输入您要查询的字词:

 

字词 静电雾化喷头
类别 中英文字词句释义及详细解析
释义

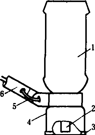
静电雾化喷头electrostatic atomizing nozzle

直接利用电能使药液雾化的装置。一种手持式静电雾化喷头的结构如图。主要包含一对电极,即高电压的喷嘴和围绕喷嘴的环形低电压对电极。其喷嘴由内外两管构成,两管间间隙很小,药液依靠重力由此间隙内流出,内管通有高电压,高压电是由装在手柄内的电池和电压转换器两部分组成的高压电发生器供给的。电压转换器为固态元件,装在小管中,以增强其机械强度和使用可靠性。当药液从喷嘴流出时,承受电极间强烈电场的影响,使药液带有与喷嘴极性相同的电荷,在喷嘴的间隙内,由于电场的影响,产生许多波动的药液条带,随即形成雾滴。在喷头与目标物(如农作物等)间的高电位差所产生的强电场的作用下雾滴飞向目标。

手持式静电雾化喷头示意图

1.药液容器; 2.高电压喷嘴;3.低电压对电极;4.喷头罩; 5.高电压电缆; 6.手柄


此喷头能量转换效率高,能量消耗低;雾滴大小均匀,其尺寸可以通过电压予以调节;雾滴运动速度快,漂移量少;雾滴沉降轨道弯曲,粘附率高;操作人员中毒危害小;无活动部件;雾滴沉积不需借助重力或风力等外界因素。但药液的粘度与导电率要在一定范围之内,一般为油剂;喷头的喷量小,生产率较低。
随便看

 

离鸟网收录3541549条中英文词条,其功能与新华字典、现代汉语词典、牛津高阶英汉词典等各类中英文词典类似,基本涵盖了全部常用中英文字词句的读音、释义及用法,是语言学习和写作的有利工具。

 

Copyright © 2004-2024 vtrois.com All Rights Reserved
更新时间:2026/4/9 4:39:41