飞机座舱
飞机座舱是飞行人员和其它乘员在飞机上工作和生活的场所。座舱除具有保护人体免受航空中异常环境因素危害的作用外,在提供一定舒适条件和提高飞行劳动效率方面也具有重要作用。早期的飞机上仅设有简陋的座椅。三十年代起,飞机开始装备最原始型式的座舱。四十年代,密封增压座舱研制成功。目前,除飞行高度不超过7km的飞机仍可用敞开式座舱外,性能较高的飞机均已采用密封增压座舱。后者不仅能有效地防护高空飞行时低气压、缺氧、寒冷、高速气流等的影响,还能在舱内创造适当的微小气候以保证飞行人员有良好的工作能力,并为乘员提供一定的舒适生活条件。此外,现代飞机座舱还具有对噪声、振动、碰撞、臭氧、紫外线和电离辐射等的防护作用。座舱微小气候诸参数,如压力、温度、湿度等的生理卫生学要求,视机种而异。例如,仅作短时间飞行的军用飞机即可采用较低标准,以减轻结构和设备重量,提高其战术技术性能。应综合考虑飞机性能、飞行任务、工程技术条件和乘员的生理需要等,提出合理的座舱环境控制系统设计标准。
飞机座舱也是飞行人员完成驾驶、领航、通讯、射击、侦察等任务的工作场所。在一些大型飞机上,除驾驶舱外,还另设有客舱、货舱等。在驾驶舱的有限空间内设有:监控飞机飞行状态、发动机工作状态等的显示器和操纵器,武器系统的瞄准、控制、显示和操作器,座舱环境控制系统的监控设备,飞行人员防护救生装备以及包括弹射座椅在内的应急离机系统等。为保证飞行人员充分发挥工作效能,使整个人机系统保持最佳的整体效率,还必须根据人体测量学、功效学、人机系统最优设计等的原理和要求,进行座舱设计。驾驶舱的座舱盖和风档,不仅具有保护飞行人员免受气流吹袭和鸟撞等损伤的功用,其透明部分又是保证飞行人员目视飞行和搜索目标时向外观察的重要设备,必须符合飞行人员视觉生理要求。近年由于大量应用机载计算机系统,以及在显示器、操纵器等设计工作中广泛采用最新技术成就,座舱布局及设计也正在发生深刻变化。
增压座舱 是保护飞行人员和乘员免受高空环境因素危害,并提供适当的气体环境及微小气候条件以保证人体正常工作能力和一定舒适条件的高空设备。它主要由能承受一定压差并具有良好气密性能的座舱结构和环境控制系统所组成。根据工作原理,增压座舱可分为通风式、再生式两种。但亦有兼用此两者的混合型式增压座舱。
通风式增压座舱 亦称“气密座舱”、“密封座舱”或“密封增压座舱”。其原理大致如下:关闭舱盖后,向胶合在舱盖边缘槽内的密封胶带充气,使之充胀,即可将舱盖与舱口间的缝隙封严; 再利用机上的专用座舱增压器,将高空稀薄大气不断压缩至已密封的舱内 (也可直接从发动机压缩器引出少量压缩空气作为增压气源);与此同时,舱内的座舱压力调节装置则可进行自动调节,将一定量的多余增压空气不断排出舱外。这样,既能保证座舱内的气体压力和压力变化率符合一定座舱压力制度要求,又能维持通风,保持舱内空气新鲜。利用气体增压所致的气温升高,又可实现座舱调温。其原理大致如下:先通过一定管路系统和调节装置,将引入的增压升温气体分为两路,一路经冷却装置降温成为“冷空气”,另一路则设法保持原来温度,或使之再经过加温装置,而成为“热空气”。座舱内的调温装置则能自动调控冷、热空气输出流量的比例。已调节好的气流经供气开关进入座舱空气分配管路系统被分送到座舱各处,从而保持座舱气温于一定适宜范围。此类型增压座舱由于增压、通风、调温性能良好,系统简单,工作可靠,对座舱气密性要求不高,故在现代航空中已得到广泛应用; 但其使用高度受到限制,一般以25km作为可采用通风式增压座舱的最终高度界限。因在此高度范围,大气密度约只有海平面的1/25,将如此稀薄的气体压缩至舱内所要求的密度,不仅耗能巨大,且温升现象亦极其严重。
再生式增压座舱 在稀薄大气层(30km以上高度)和宇宙空间中航行的载人飞行器,必须采用不依赖周围大气、使用高度不受限制的再生式增压座舱 (也称“自给式增压座舱”、“密闭座舱”)。这种座舱装有空气再生回路: 舱内的二氧化碳、水汽和有害杂质等由再生装置滤除净化; 所消耗的氧气由携带的氧源及时补充。因泄漏而损失的气体亦由携带的气源补充,以保持规定的座舱压力水平。为避免机上气源过多消耗,此类座舱结构的气密性要求较高,同时设备比较复杂。

图1 通风式增压座舱工作原理图
1. 氧气设备 2. 温度调节装置 3. 氧气源 4. 供气量调节装置 5. 空气滤 6. 压缩机 7. 单向活门 8. 安全活门 9. 压力调节装置 10 供气开关11. 单向活门 12. 加温装置 13. 冷却装置14. 压缩机

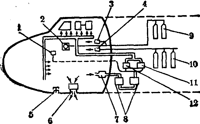
图2 再生式增压座舱工作原理图
1.温度调节装置 2.氧气设备 3.供氧调节器4.供气调节器 5.安全活门 6.压力调节装置7.通风器 8. 再生装置 9.氧气瓶 10.冷气瓶11. 加温装置 12. 冷却装置
长时间在25~30km范围飞行的飞机,也可采用混合型式增压座舱。如有的高空旅客机即采用此种方案,可将部分座舱空气再生后重复使用,以减少新鲜空气的供应量。有的高空战斗机还携带增压气瓶,作为高空飞行期间增压空气量下降时的一种补充供气源,也可作为座舱迅速减压时的一种应急增压气源,使座舱压力不致降低太快。