网站首页  词典首页


请输入您要查询的字词:

 

字词 鼠道犁
类别 中英文字词句释义及详细解析
释义

鼠道犁mole draining plow

又称塑孔犁或暗沟犁。一种在地下开排水暗沟的农具。由锥形犁头,塑孔器及刀形犁柱等组成。可由拖拉机或动力绞盘牵引作业。暗沟直径约为90~100mm,深度可达0.8 m。暗沟排水的特点是土地利用率高,维修管理工作量小,便于农业机械的田间作业,并能有效地降低地下水位。

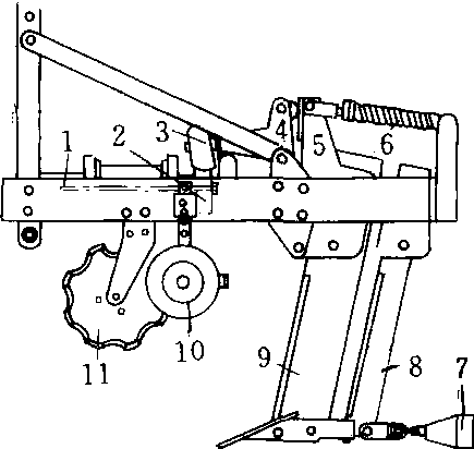
振动暗沟犁示意图

1.输入轴 2. 振动凸轮 3. 从动滚轮 4. 振动架 5. 振动刀刃安装附件 6.压缩弹簧 7. 塑孔器 8. 固定刀刃 9. 振动刀刃 10. 限深轮 11. 圆盘锯齿刀刃

随便看

 

离鸟网收录3541549条中英文词条,其功能与新华字典、现代汉语词典、牛津高阶英汉词典等各类中英文词典类似,基本涵盖了全部常用中英文字词句的读音、释义及用法,是语言学习和写作的有利工具。

 

Copyright © 2004-2024 vtrois.com All Rights Reserved
更新时间:2026/4/7 22:39:00