网站首页  词典首页


请输入您要查询的字词:

 

字词 差动轮系
类别 中英文字词句释义及详细解析
释义 差动轮系

例5.2-115 增力差动滑轮

双联定滑轮(或链轮)1、2受拉力F作用时,通过动滑轮(或链轮)3吊起重物Q。其F-Q关系为:

该机构广泛用在起重葫芦上。

例5。2-116 压力表用差动滑轮

当压力表承受压力增大时,通过膜片8使滑轮7铅直向下移动,缆绳6带动双联定滑轮3、4及与其固连的指针2转动,指示压力数值。当弹簧5所承受的拉力与缆绳的拉力对定滑轮转轴的力矩达到平衡时,指针停转,平衡在对应位置。若将膜片8换成热敏元件,则可成为机械式温度表。

例5.2-117 变高速转动为低速直动的差动机构

齿轮8和右螺旋3固连于主动轴7上。宽齿轮4和左螺旋2为一体,空套在从动轴6上,其两端有轴肩定位。轴6在滑键1、5的限制下,只能作轴向移动。在传动过程中,始终是8与4啮合,3与2啮合。若取螺距l2=2.527mm、l3=2.540mm,主动轴7按图示方向每转一圈,则从动轴6向右移动的距离为S=0.013mm。可见,该机构具有将高速转动转换为低速直动的功能,可作为机床的刀具进给机构。

例5.2-118 汽车差速器

主动锥齿轮1通过2及固连于2的系杆H带动行星轮3,驱动左右半轴齿轮4、5及与其固连的左右车轮。该机构是差动轮系将一个转动分解为两个转动的典型应用。当汽车转弯时,保持左右驱动轮在地面上作纯滚动,两轮转速满足如下关系:

式中 r为汽车后轴中心的转弯半径;n4=n2(rL)/r;n5=n2(r+L)/,。当汽车作直线行驶时,n2=n4=n5,相当于2-3-4-5-H成为一体。

例5.2-119 两轴相位角调整机构

机构中蜗杆不转动时,齿轮5-3-4-6为定轴轮系,主动轴Ⅰ通过定轴轮系带动从动轴Ⅱ转动。如欲调整Ⅰ、Ⅱ两轴间的相位角,可转动蜗杆1带动蜗轮2及与2固连的系杆H,使齿轮3、4、6带动轴Ⅱ转动位置。其特点是,可在工作过程中调整相位角,无需停车。

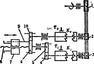
例5.2-120 快慢速进退的差动机构

主动带轮1驱动轮2、3同向转动。齿轮5固连丝杠8,齿轮6空套在轴5上,且与螺母7用滑键9相连,6、7同时转动,又作相对移动。在齿轮与带轮间中介有离合器K1、K2和制动器T1、T5。在该系统中,刀架7的工作状态取决于K1、K2、T1、T2的状态。当T1开-T2制动-K1合-K2开时,7作快速进给;当T1开-T2开-K1合-K2合时,7作慢速进给;当T1制动-T2开-K1开-K2合时,7作快速退回;若使电机反转,当T1开-T2制动-K1合-K2开时,7作快速退回。

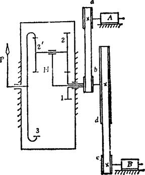
例5.2-121 同步转速仪差动机构

由构件1-2-2′-3-H组成的差动轮系,可将涡轮机A、B的转动合成为一个运动,由固连于齿轮3的指针P输出,用以测定两涡轮机的转速差。A通过带轮a、b驱动齿轮1,B通过带轮c、d驱动系杆H作同向转动。若带轮直径Da=Db=Dc=100mm、Dd=500mm,各轮齿数Z1=18、Z2=24、Z2=21、Z2=63,则齿轮3或指针P的转速为:

np=n3=(nB-nA)/4

当nA=nB时,nP=n3=0,指针P不动,且指在“0”点;当nB>nA时,np>0为“+”,则指针与涡轮机转向相同;当nB<nA时,np<0为“-”,则指针与涡轮机转向相反。以此为依据,对给汽量进行调整,以实现两涡轮机同步运转。

随便看

 

离鸟网收录3541549条中英文词条,其功能与新华字典、现代汉语词典、牛津高阶英汉词典等各类中英文词典类似,基本涵盖了全部常用中英文字词句的读音、释义及用法,是语言学习和写作的有利工具。

 

Copyright © 2004-2024 vtrois.com All Rights Reserved
更新时间:2026/4/7 9:46:21