网站首页  词典首页


请输入您要查询的字词:

 

字词 行程放大机构
类别 中英文字词句释义及详细解析
释义 行程放大机构

在基本机构上附加杆组或进行机构的组合,以获得大于普通基本机构的移动行程或摆角的装置,称为行程放大机构。便于实现行程放大功能的机构,主要有曲柄连杆机构、齿轮齿条、链轮链条、凸轮等或其组合。通过相同或不同类型的机构叠加或组合,可得到不同行程放大倍数、特点各异、能满足不同工作要求的行程放大机构。

例5.2-163 用齿轮齿条放大曲柄滑块机构的行程

对心曲柄滑块机构的移动行程为H=2R。在图示的曲柄齿轮齿条机构,用齿条4、5和齿轮3取代滑块,则其输出齿条5的移动行程为H=4R,扩大了两倍。机构中齿条4为固定齿条,5为可动齿条。

例5.2-164 双滑块压缩机机构

图示机构为两个相同曲柄滑块机构的叠加(两曲柄反向刚性相联)。若以曲柄1作主动件,则活塞3与气缸体2的相对移动行程为曲柄半径R的4倍,即H=4R,比单滑块的行程扩大到2倍。该机构可用于压缩机。

例5.2-165 复式滑轮组移动行程放大机构

图中主动气缸2以活塞杆3驱动滑轮组4,并通过绳索6、定滑轮5等拉动滑块1由左向右移动。对应于活塞杆的位移s,输出滑块1的移动距离为H=6s,放大到6倍。该机构可用作弹射机构。

例5.2-166 链传动叉车门架提升机构

图中活塞6的轴端装有链轮4,叉板1装有可在导槽3中移动的导向轮2。当主动活塞6在动力作用下伸缩时,可通过链条链轮传动将叉板1拉起或放下。对应于活塞的最大有效伸缩位移S,叉板的行程高度为H=2S,扩大2倍。

例5.2-167 带轮行程放大机构

图a)是用由带轮3和5、连接杆6、下方固定于A点的环带4所构成的带轮传动组充当滑块。当主动曲柄1转动时,环带4的B点作往复移动,其行程为曲柄长的4倍,即HB=4r。图b)的原理相同,其结构的变化为;A点不与机架固结,而与新增连杆3铰接,并增加一半径相同的齿轮。当主动曲柄1转动时,环带B点的往复移动行程为曲柄长r的6倍,即HB=6r。

例5.2-168 行星轮系行程放大机构

图示由齿轮1、2、3和系杆H组成的行星轮系,系杆H为主动件,杆3′与轮3固联。若机构中杆长及齿数满足,且,则杆3′的P点沿直线轨迹作往复运动,其行程为Hp=4R。

例5.2-169 双面凸轮行程放大机构

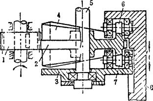
如图示,齿轮2与双面凸轮4同轴固联,且空套在轴5上;滚子6装在移动从动件8上,并与4的上端面廓线接触;滚子7装在机架上,与4的下端面廓线接触。当主动齿轮1通过2使双端面凸轮4转动时,滚子7使4沿轴5上下往复移动,而4又通过滚子6使从动件8上下移动,这样,就使从动件8的行程扩大了一倍。

例5.2-170 扇形齿轮-凸轮行程放大机构

如图示,主动凸轮2绕固定轴1转动,通过滚子带动从动推杆3作往复移动,其行程为H1。若以此为基础,在滚子轴上装设与固定齿条5啮合的扇形齿轮4及与4固联的摆杆4′,当由滑块7作为输出时,则滑块7的行程H将大于H1,以实现行程放大。

例5.2-171 齿条导杆-摆动滑块行程放大机构

由3′-5-6构成的偏心式摆动滑块机构,其滑块6的行程较小。为增大行程,叠加由1-2-3-4构成的导杆机构(齿条2为导杆),当以杆1为主动曲柄时,输出滑块6的行程为

r/R值较小时,则

例5.2-172 摇杆-齿轮摆角放大机构

在曲柄摇杆机构中,摇杆的摆角通常不超过120°。若需较大摆角,如图示,附加一级齿轮传动,可增大输出摆角。其特点是,轮5的输出摆角为原输出杆3摆角的线性放大。

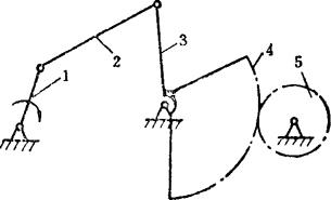
例5.2-173 凸轮-双摇杆摆角放大机构

对于摆动推杆凸轮机构,摆杆的摆角一般较小(因为摆角越大,凸轮的结构尺寸越大)。如果在凸轮机构的基础上附加双摇杆机构,可在不增大凸轮尺寸的前提下增大推杆的输出摆角。图中杆4为输出构件,其摆角可比凸轮推杆2的摆角增大数倍。

例5.2-174 双摆杆摆角增大机构

如图示,主动摆杆1端部铰接的滚子3被限定在从动摆杆2的导槽内运动,当杆1摆动a角时,杆2的输出摆角β大于a,可实现输入输出间摆角的放大。须注意的是:只有两杆转轴的中心距a小于主动摆杆的半径r时,方能实现摆角同向增大的目的。其各参数间的关系为

例5.2-175 行星链轮摆角放大机构

如图示,系杆H绕固定链轮1的中心O摆动,并支撑链轮2,1、2间由链条3进行传动。1-2-3-H构成行星传动。当主动摆杆H摆动角a时,从动链轮2和与其固联的杆2′摆角增大到β。放大倍数取决于两链轮的齿数比:

随便看

 

离鸟网收录3541549条中英文词条,其功能与新华字典、现代汉语词典、牛津高阶英汉词典等各类中英文词典类似,基本涵盖了全部常用中英文字词句的读音、释义及用法,是语言学习和写作的有利工具。

 

Copyright © 2004-2024 vtrois.com All Rights Reserved
更新时间:2026/5/31 21:43:59