网站首页  词典首页


请输入您要查询的字词:

 

字词 各种锤上模锻的特点与应用
类别 中英文字词句释义及详细解析
释义

各种锤上模锻的特点与应用


7.2.2.1 胎模锻的特点及应用

胎模锻是在自由锻设备上,利用不固定于设备上的专用胎模,进行模锻件生产的一种工艺方法.

胎模锻和自由锻相比较,所用设备相同,所用工具由平砧及活动的专用胎模代替自由锻的通用工具.胎模锻可以锻制形状较复杂、尺寸较准确的锻件,从而提高了材料利用率,减少了机械加工工时消耗,提高了生产率.但需增加一套专用胎模,需要较长的生产准备周期和较大的锻造设备规格.

胎模锻和锤上模锻相比较,所用设备不同,所用模具的体积小、结构简单.模锻过程差别也较大,表现在:高温金属始终与低温胎模相接触,胎模升温迅速,金属坯料快速冷却;胎模锻在锤击过程中不开合,无法清理氧化皮和润滑模具;胎模锻是通过打击胎模使锻件成形的,且胎模的高度减小了锤头的有效打击行程,所以胎模锻时的锻锤打击速度、打击效率均低于同样能量的模锻锤.

胎模锻工艺灵活多样,几乎可锻出所有类别的锻件,工艺上多采用无飞边或小飞边锻造,且模锻斜度校故金属材料消耗较少,模具结构简单,质量校制造较简便,模具费用低,许多锻件采用摔模、垫模、套模成形或精确制坯、局部焖形等工艺,所需设备能量校设备投资和生产费用较低.但胎模锻较锤上模锻成形能力低,生产率不高,劳动强度大.

胎模锻是一种适用于中小型锻件、中小批生产的锻造方法.在新产品试制、机修备件、工模具锻件生产中也可采用胎模锻.有些锻件虽然生产批量较大,需用大型或特殊锻压设备生产,但未具备条件时,采用胎模锻也是合理的.

7.2.2.2 胎模锻工艺举例

1.变速杆锻件胎模锻工艺

变速杆锻件胎模锻工艺如图7-3所示.

图7-3 变速杆锻件胎模锻工艺

(a)锻件;(b)胎模锻工艺

材料:Q235A;

锻件质量:0.45kg;

坯料尺寸:Φ30mm×100mm;

锻造设备:150kg空气锤;

火次:一火;

工序:1—摔球,2—拔杆摔光,3—调头拔杆、摔光、校正.

本锻件直径平缓变化,采用型摔成形最为合理.因为坯料直径较校杆部细长,为在一火内完成全部锻造工序,必须快速拔长和摔型.

2.齿轮胎模锻工艺

齿轮胎模锻工艺如图7-4所示.

图7-4 齿轮锻件胎模锻工艺

(a)锻件图;(b)胎模锻工艺

材料:45号;

锻件质量:2.85kg;

坯料尺寸:Φ70mm×100mm;

设备:400kg空气锤;

火次:一火;

工序:1—镦粗,2—终锻,3—冲孔.

7.2.2.3 高速锤及对击锤上模锻

高速锤及对击锤虽然都不像模锻锤那样有固定的下砧座,但两者仍然有较大的差别.一是速度上差别很大,高速锤上锤头的运动速度远高于模锻锤上锤头的运动速度,有时可达16m/s甚至更高,而对击锤的速度低于模锻锤头的运动速度,一般为3m/s;二是上下锤头的移动量有很大差别,高速锤主要是靠上锤头运动,而下锤头随机身仅作极小的位移,对击锤上、下锤头的运动速度及位移量基本相等;三是驱动的气源压力不等,高速锤所用的气源压力远高于对击锤的气源压力.

1.高速锤锻造工艺特点

高速锤锻造工艺特点是:

(1)惯性大.镦粗时径向惯性力对大面积薄腹板类的齿轮和侧面带筋件的充满有利.挤压时已挤出的材料受到惯性力的影响,有可能被拉成细颈甚至被拉断,应采取适当的措施来防止.挤压变截面叶片时,模具斜面上的反推力可以防止断裂产生.

(2)热效应大.高速成形时,变形时间短,变形产生的热量来不及外传而引起变形区金属温度迅速上升,也就是说热效应显着.热效应能降低变形抗力,但也能引起材料的过热和过烧,因此确定锻造温度时应较一般锻造时取得略低些.

(3)摩擦系数校由于高速锻时变形比较均匀,附加应力校对低塑性材料的锻造较为有利.但在开式模锻时,由于桥口部摩擦力的下降及金属径向外流惯性的影响,飞边桥口部分对金属外流所引起的限制作用显得很校所以在高速锤上多用闭式模锻.

2.高速锤模锻工艺举例

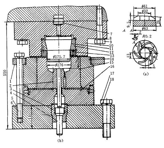
桨叶式叶轮是典型的带筋锻件,材料为LD2,毛坯尺寸为Φ62mm×30mm,酸洗去油后加热到300℃,保温30~40min,然后放入160kg高速锤闭式模膛内一次成形.锻模图如图7-5所示.

高速锤上锻造的叶轮可达到较高的精度,除安装面留有加工余量外,其余部位可不再机械加工,直接使用.

3.对击锤模锻特点

对击锤模锻特点是:

(1)变形速度较校变形均匀性较好.对击锤上下锤头速度都是3m/s多,其相对打击速度是6m/s多,比模锻锤打击速度稍校上下锤头作相向打击,上下型槽金属变形的激烈程度之差别明显减校变形均匀性较好.这对避免裂纹及金属流动缺陷较为有利,对组织性能的均匀性较为有利.

(2)更适合于中小批量生产.航空、航天、兵器、舰船、化工机械、石油机械、汽轮机等多数机械工业,均为中小批量生产,其零件形状复杂,种类较多,选用低塑性材料品种也多,较适宜选用对击锤生产.

图7-5 桨叶式叶轮闭式模锻锻模

(a)锻件图;(b)模具

1—紧固圈;2—顶杆;3—导筒;4—顶杆;5—底板;6、9、17—紧固螺栓;7—定位器;8、18—垫圈;10—冲头模座;11—冲头;12—锥形圈;13—螺纹紧固圈;14—凹模模套;15—凹模;16—垫板

(3)利用顶出装置可扩大锻件成形范围.

(4)操作不便,不宜进行多槽模锻.

4.对击锤上模锻举例

图7-6为德国风冷发动机曲轴示意图.

标准:德国DIN—7526;

质量:100kg;

材料:34CrN1Mo6V;

图7-6 风冷发动机曲轴锻件

工艺:下料(Φ140mm×950mm,114kg)弯曲一次模锻→酸洗→表面清理二次模锻→切边→表面清理热较正→热处理→酸洗→检验→表面清理→矫直→去应力退火→理化测试→终检入库.

随便看

 

离鸟网收录3541549条中英文词条,其功能与新华字典、现代汉语词典、牛津高阶英汉词典等各类中英文词典类似,基本涵盖了全部常用中英文字词句的读音、释义及用法,是语言学习和写作的有利工具。

 

Copyright © 2004-2024 vtrois.com All Rights Reserved
更新时间:2026/4/7 10:24:57