网站首页  词典首页


请输入您要查询的字词:

 

字词 杀菌锅
类别 中英文字词句释义及详细解析
释义

杀菌锅


(一)用途与特点

杀菌锅用于饮料包装后的杀菌,是一种间歇式杀菌装置。有立式和卧式两种形式。其热源采用蒸汽,有常压及加压两种杀菌方式。

(二)结构与工作原理

立式杀菌锅如图4-4-12所示,由锅体、杀菌篮、管道组成,与之配套的还有电动葫芦、空气压缩机及检测仪表等。

图4-4-12 立式杀菌锅

1-锅体 2-杀菌篮 3-平衡锤 4-锅盖 5-冷却盘管 6-蝶形螺栓 7-密封材料 8-锅底 9-管道 10-吹泡管 11-排水管

立式杀菌锅的锅体为圆筒体,上下封头为球形,盖与锅体的连接采用快开式螺栓或自锁锲合块,锅体边缘外有凹槽,凹槽内有密封填料,可保证密封。锅体内有杀菌蓝,可用电动葫芦吊出,蒸汽由管道通入锅底两侧和底部开有小孔的十字形蒸汽吹泡管,冷却水由锅盖内壁上的盘管小孔喷淋于锅中。锅盖上装有吹气阀、安全阀、压力表及温度计等,锅体最底部装有排水管。锅体的外部一般装有保温材料。

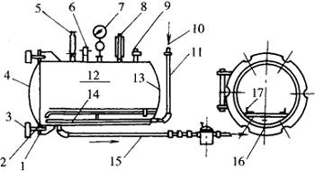
卧式杀菌锅一般容量较大,为一个平卧的圆筒体,如图4-4-13所示。筒体前部有一个锅盖,后部则为椭圆形封头,锅体与锅盖的连接方式与立式杀菌锅相同。锅体内底部装有两根平行的轨道,供进出小车用。蒸汽从平行轨道下面的两根带有吹泡小孔的平行管道进入锅内进行加热。

图4-4-13 卧式杀菌锅

1-垫片 2-螺丝 3-手把 4-锅盖 5-安全阀 6-排气阀 7-压力表 8-温度计 9-排气口 10-蒸汽入口 11-蒸汽管 12-锅身 13-锅底 14-蒸汽喷出管 15-废汽排出管 16-喷汽喷出管 17-台车轨道

(三)主要技术参数

杀菌锅主要技术参数见表4-4-8。

表4-4-8 杀菌锅主要技术参数

随便看

 

离鸟网收录3541549条中英文词条,其功能与新华字典、现代汉语词典、牛津高阶英汉词典等各类中英文词典类似,基本涵盖了全部常用中英文字词句的读音、释义及用法,是语言学习和写作的有利工具。

 

Copyright © 2004-2024 vtrois.com All Rights Reserved
更新时间:2026/4/9 8:06:59