网站首页  词典首页


请输入您要查询的字词:

 

字词 概述
类别 中英文字词句释义及详细解析
释义

概述


调和机被广泛用于焙烤食品生产中,调和机的搅拌功能除满足物料的混合需要外,还要根据所调制物料的性质及工艺要求,完成某些特定的操作。因此,在焙烤食品加工中,调和机是直接影响制品质量的关键设备之一。

根据用途不同,可将调和机分为两大类:一类是调制各种面团的和面机(也称调粉机);另一类是用于搅拌各种黏稠浆体的搅拌机。需要说明的是:这种分类并不严格,有些用于调制面团的调和机也称之为搅拌机。

(一)和面机

和面机被用来调制黏度极高的浆体或弹塑性固体,揉制不同性质的面团,如酥性面团、韧性面团、水面团等。和面机调制面团的基本过程在于搅拌桨的运动,搅拌桨叶转动,使干面粉颗粒均匀地与水结合,首先形成胶体状态的不规则小团粒,进而小团粒粘结,逐渐形成一些零散的大团块,随着桨叶的不断推动,团块扩展揉捏成整体面团。由于搅拌桨对面团进行的剪切、折叠、压延、拉伸及糅合等作用,使调制出的面团具有一定的弹性、韧性及延伸性,成为满足一定工艺要求的理想面团。

和面机主要由搅拌器、搅拌容器、传动装置、机架、容器翻转机构等组成。搅拌容器轴线处于水平位置的,称为卧式和面机,如图3-1-1所示。搅拌容器轴线为垂直方向布置的,称为立式和面机,如图3-1-2所示。

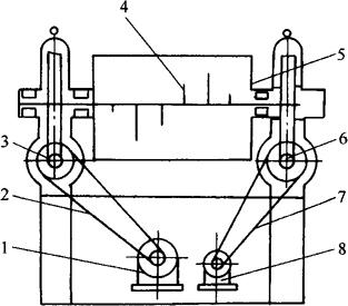
图3-1-1 T-66型卧式和面机传动结构示意图

1、8-电动机 2、7-V带 3、6-蜗杆 4-桨叶 5-容器

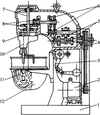
图3-1-2 立式和面机

1-底盘 2-机身 3、4-电动机 5-蜗杆 6-蜗轮 7-主轴 8-桨叶 9-缸体

卧式和面机有单轴式和双轴式两种,单轴卧式和面机对面团的拉伸作用较小,如投料过少或操作不当,容易出现抱轴现象,一般适用于调制酥性面团。立式和面机的搅拌器垂直或倾斜安装,有些设备搅拌容器做回转运动(如图3-1-3所示的立式双速搅拌机),对面团的压捏程度和拉伸作用较强,适于调制韧性面团和水面团。由于卧式和面机结构简单,卸料、清洗、维修方便,因此被广泛使用。

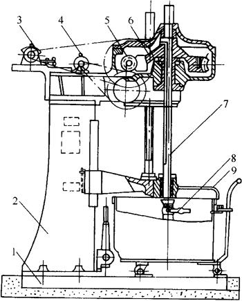
图3-1-3 立式双速搅拌机

1-控制面板 2-搅拌器 3-安全罩 4-搅拌缸 5-壳体 6-电器盒 7-靠缸器 8-上盖

和面机最重要的工作部件是搅拌器(也称搅拌桨),其形状结构有多种类型,表3-1-1为常用搅拌器的工艺性能。

表3-1-1 常用搅拌器的工艺性能

(二)搅拌机

搅拌机也称打蛋机,可用于搅打各种蛋白液或搅拌糖浆、乳酪及蛋糕、杏元饼干、威化饼干的面浆等黏稠性浆体。搅拌机调和物料的黏度低于和面机搅拌的物料,因此,搅拌机的转速比和面机高,一般在70~270r/min范围。

搅拌机操作时,通过搅拌器高速旋转,强制搅打,使被调和物料相互间充分接触,并剧烈摩擦,从而实现对物料的混合、乳化、充气及排除部分水分的作用。

搅拌机多为立式,主要由搅拌器、容器、传动装置及容器升降机构等组成,见图3-1-4所示。

图3-1-4 立式搅拌机结构简图

1-机座 2-电动机 3-容器升降机构 4-带轮 5-齿轮变速机构 6-斜齿轮 7-主轴 8-锥齿轮 9-行星齿轮 10-搅拌头 11-搅拌桨叶 12-搅拌容器

搅拌器由搅拌桨和搅拌头组成。搅拌桨在运动中搅拌物料,搅拌头则使搅拌桨相对于容器形成公转与自转的行星运动,见图3-1-5(a)所示。有的搅拌器采用回转容器和固定主轴搅拌头,如图3-1-5(c)所示,搅拌头自转,通过容器回转产生相对于搅拌桨的公转运动。搅拌桨运动轨迹如图3-1-5(b)所示。搅拌桨的行星运动,可以满足调和高黏度物料的运动要求,使容器内各处物料都能被搅拌到。

图3-1-5搅拌头示意图

(a)、(c)传动示意图 (b)桨运动轨迹示意图 1-内齿轮 2-行星齿轮 3-转臂 4-搅拌桨 5-主轴

搅拌桨的结构形状是根据被调和物料的性质及工艺要求决定的,表3-1-2为典型结构的搅拌桨及工艺性能。

表3-1-2 搅拌机搅拌桨的工艺性能

容器升降机构可以使容器做少量的升降移动并定位自锁,以实现容器的固定和快速装卸。图3-1-6所示为典型的容器升降机构,它是通过转动手轮,由同轴凸轮带动连杆及滑块,使支架沿机座的燕尾导轨做垂直升降移动。有的立式搅拌机采用丝杠-螺母升降机构,转动手轮,带动丝杠旋转,使螺母上下移动,完成容器的升降运动。

图3-1-6 容器升降机构

1-手轮 2-凸轮 3-连杆 4-滑块 5-支架 6-机座 7-平衡块 8-定位销

容器的定位机构一般采用间隙配合的两个圆柱销使容器外壁带销孔的支板与机架连接固定,容器靠斜面压块压紧容器支板完成夹紧,如图3-1-7所示。

图3-1-7 容器夹紧机构

1-容器 2-支板 3-斜面压块 4-机架

随便看

 

离鸟网收录3541549条中英文词条,其功能与新华字典、现代汉语词典、牛津高阶英汉词典等各类中英文词典类似,基本涵盖了全部常用中英文字词句的读音、释义及用法,是语言学习和写作的有利工具。

 

Copyright © 2004-2024 vtrois.com All Rights Reserved
更新时间:2026/4/8 12:49:19