网站首页  词典首页


请输入您要查询的字词:

 

字词 真空泵
类别 中英文字词句释义及详细解析
释义

真空泵


(一)水环式真空泵

1.结构特点

利用泵壳和叶轮的不同心安装结构,当叶轮旋转时,构成与叶轮成偏心的水环;在固定的吸气口与排气口的相应配合下,完成吸气、压缩与排气。该种型式的真空泵有单级与双级之分,双级泵是一级的排气被二级吸入,压缩并排出。

2.主要技术参数

2YK、SK及2SK型水环式真空泵见表9-9-24所示;

表9-9-242YK、SK水环泵性能表

2BE、203及2BE、253型水环式真空泵见表9-9-25所示。

表9-9-252BE(水环泵性能表)

SZ型水环式真空泵见表9-9-26所示。

表9-9-26SZ水环泵性能表

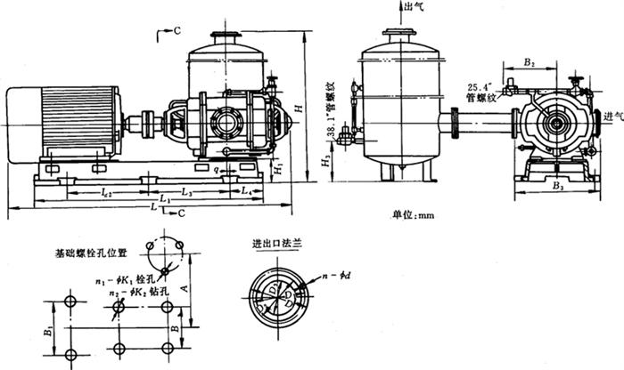
3.外形尺寸

见1211页图9-9-18及1215页图9-9-19,图9-9-20,图9-9-21,图9-9-22,图9-9-23,图9-9-24及表9-9-27,表9-9-28,表9-9-29,表9-9-30。

图9-9-18 SK系列泵外形和安装尺寸图

表9-9-27SK系列泵型号和安装尺寸表 单位:mm

生产厂:新乡水泵厂。

表9-9-28SK系列泵型号和安装尺寸表 单位:mm

生产厂:佛山水泵厂。

图9-9-19 SK系列泵(压缩机)外形和安装尺寸图

1′=2.54Cm

图9-9-20 SK-42型泵外形和安装尺寸图

图9-9-21 2SK-6型泵外形与安装尺寸图

表9-9-292BE1型水环真空泵外形尺寸 单位:mm

图9-9-22 2BE1型水环式真空泵外形尺寸图

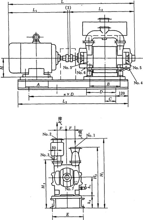
图9-9-23 SZ-1、SZ-2型泵外形尺寸图

图9-9-24 SZ-3 SZ-4 SY-3 SY-4型泵与压缩机外形尺寸图

表9-9-30 SZ SY型泵和压缩机外形和安装尺寸表 单位:mm

4.生产厂家

淄博真空设备厂 SK-0.4~SK-60,2SK-0.8~2SK-30,SZ-1,SZ-2,SZ-3,SZ-4,SZB4,SZB-8,2SK-0,8P1~2SK-30P1。

浙江真空设备厂 SZ-1,SZ-2,SZ-3,SZB-8,SK-0.08,SK-1.5,SK-3,SK-6,SK12,SK-25,2SK-1,2SK-1.5,2SK-3,2SK-6,2SK-12,2SK-25。

上海真空泵厂 SZ-0.5,2S-185,2S-185A,2S-230,SS-80。

沈阳真空机械三厂 SZ-1,SZ-2,SZ-3,SK-3,SK-6,SK-20。

南京真空泵厂 SK-3,SZB-1.5,2SK-1。

佛山水泵厂 2BE103-1,2BE1353-0,2BE1403-0,2BE1356-1,2BE1405-1,2BE1505-1,2BE1605-1,2BE1705-1,SK-12~SK-250,2SK-0.8,2YK-110P1,2YK110P2,2YK-110P3,SK-60P1,SK-60P2,SK-42P1,SK-42P2,2YK-27P1A,2YK-27P1,2YK-27P2

广东省肇庆市迅达真空成套工程有限公司 2SK-1.5,2SK-3,2SK-6,SK-1.5,SK-3,SK-6。

新乡水泵厂 SK4.7,SK7,SK15,SK20,SZ-1,SZ-2,SZ-3,SZ-4。

唐山水泵厂 SZ-1,SZ-2。

大连耐酸泵厂 SZ-1~SZ-4。

哈尔滨水泵厂 SZ-1~SZ-4。

成都水泵厂 SZB-4 SZB-8。

博山真空泵厂 SZB-4 SZB-8。

(二)W型往复式真空泵

1.结构特点

(1)W型真空泵适宜于在较高压强范围内使用,极限真空2000Pa左右,整个结构原件装在一个封闭的曲轴箱内,连杆把曲轴和十字头连接起来,通过连杆和十字头的作用,使活塞在汽缸中做往复运动,周期性地改变吸排气腔的容积,并依靠吸排气阀的作用完成吸排气动作,从而获得真空。

(2)冷却水自气缸前端气缸下面进水口流入,经过气缸盖、气缸和气缸颈的水套在气缸后端气缸颈上面出水口流出。W-30气缸颈和气缸盖无水套,冷却水自气缸前端气缸盖下面进水口流入,经气缸的水套,在气缸盖上面出水口流出,流动在气缸水套中的冷却水,把气缸中因气体被压缩而产生的热量,和因摩擦而产生的热量带走,使气缸不致过热而影响正常工作。

2.主要技术参数

见表9-9-31。

表9-9-31 往复式真空泵技术参数表

3.外形尺寸

见图9-9-25,表9-9-32及图9-9-26。

图9-9-25 W型往复式真空泵外形图

表9-9-32W型往复式真空泵结构尺寸表 单位:mm

图9-9-26 W-300型往复式真空泵外形图

4.生产厂家

浙江真空设备厂 W-50,W-100,W-200。

上海真空泵厂 W-50,W-70,W-100,W-150,W-200,W-300。

淄博真空设备厂 W-50,W-100,W-200,W-300,W-400,W-600。

汕头真空器械厂 W-50,W-100,W-150。

沈阳真空设备厂 W-150。

铁岭化工机械厂 W-100,W-200。

温州工业泵厂 W-50,W-100,W-200,WL-50,WL-100,WL-200(立式往复泵)。

沈阳真空机械三厂 W-50,W-100,W-200。

(三)旋片式真空泵

1.结构特点

该泵适用于卷接车间单机配套及科研与教学用,但不适用于抽除含氧过高、对黑色金属有腐蚀作用、对真空泵油起化学反应以及含有颗粒状灰尘的气体,也不适于作气体输送泵用。

2.主要技术参数

见表9-9-33。

表9-9-33 型号说明:2XZ4-2 双级;X 旋片式真空泵;Z电机与真空泵直联;4-抽气速率(L/s)

3.生产厂家

北京仪器厂 2X-1~2X-15,2XZ-2~2XZ-8。

南光机器厂 2X-0.5~2X-70。

广东真空设备厂 2X-0.5~2X-70,2XZ-1。

上海真空泵厂 2X-2~2X-70,2XZ-0.5~2XZ-30,XZ-2,XZ-4,XZ-30,XZ-45,XZ70。

淄博真空设备厂 2X-2~2X-70,2XZ-0.5~2XZ15,2X-30,X2-70。

锦州真空设备厂 2X-1。

沈阳真空泵厂 2X-0.5~2X-30,2X-0.5,2X-2,XZ-0.1,XZ-0.2。

沈阳真空设备厂 2X-1~2X-150,2XZ-4,2XZ-8,2X-4,XZ-8。

沈阳真空机械泵厂 2X-1~2X-150。

沈阳教学仪器厂 2X-1~2X-8,2XZ-0.5,XZ-0.2。

南京真空泵厂 2X-0.5~2X-70,XZ-8,2XZ-2。

浙江临海精工真空设备厂 2XZ-0.25~2XZ-8。

温岭真空机械厂 2X-4,2X-8,2X-15,2XZ-0.3,2XZ-0.5,2X-0.1。

浙江温岭真空仪器厂 2XZ-1~2XZ-8。

浙江真空设备厂 2XZ-0.25,2XZ-0.5~2XZ-8。

广东迅达真空成套有限公司 2X-2,2X-4,2X-30,2X-70。

沈阳真空机械厂 2X-15,2X-30,2X-70。

(四)罗茨真空泵

1.结构特点

该泵可抽除大量水蒸气,适用于蒸馏、蒸发、冷冻干燥等生产过程,亦可以作其他大型高真空泵的前级泵。

2.主要技术参数

见表9-9-34。

表9-9-34 型号说明:ZJ-150 ZJ-机械增压泵;150-抽气速率(L/s)

3.生产厂家

抚顺真空设备制造厂 ZJ-70~ZJ-2500。

浙江真空设备厂 ZJ-30~ZJ-1200。

上海真空泵厂 ZJ-30~ZJ-2000,ZJL-150,ZJB-30~ZJB-1200。

沈阳真空设备厂 ZJ-150~ZJ-600。

四川省轻工机械厂 ZBK-11,ZBK-13,ZBK-14。

沈阳真空技术研究所 ZJ-150~ZJ-2000。

广东迅达公司 ZJ-150~ZJ-1200。

淄博真空设备厂 ZJ-70~ZJ-2600。

南光机器厂 ZJ-500。

北京仪器厂 ZJ-30。

随便看

 

离鸟网收录3541549条中英文词条,其功能与新华字典、现代汉语词典、牛津高阶英汉词典等各类中英文词典类似,基本涵盖了全部常用中英文字词句的读音、释义及用法,是语言学习和写作的有利工具。

 

Copyright © 2004-2024 vtrois.com All Rights Reserved
更新时间:2026/4/8 22:37:41