网站首页  词典首页


请输入您要查询的字词:

 

字词 豆腐、豆腐干及百叶加工装备
类别 中英文字词句释义及详细解析
释义

豆腐、豆腐干及百叶加工装备


1 概述

以大豆、低温脱溶豆粕或冷榨豆饼为原料加工成豆腐、豆腐干及百叶所需的设备称为豆腐、豆腐干及百叶加工装备。上述豆制品制作过程中均有制浆工序,除对浓度有不同要求外,其他工艺要求和设备均相同。仅在成型时采用不同的加工方法,因此豆制品厂都同时生产上述豆制品。

2 加工工艺(图1-14-1)

图1-14-1 豆腐、豆腐干及百叶加工工艺流程图

2.1 原料

生产用原料有大豆、低溶脱脂豆粕及冷榨豆饼。而用大豆为原料制得的豆制品质量及口感均较好。采用大豆与脱脂豆粕按一定比例混合作原料也能取得较好效果。

2.2 预处理

预处理包括对大豆进行清选、清洗,其目的是除去各种杂物和砂石。通过水清洗可清除附在大豆表面的灰尘及部分坏豆。使用的设备有清选机及清洗机。

2.3 浸泡

浸泡的目的是通过大豆浸泡充分吸水膨胀,使得在磨糊时蛋白质充分地从大豆组织中释放出来,以利于提高大豆蛋白的提取率。浸泡的时间与水温、水质及水的pH有关。一般最好是水温15~20℃,软水,pH7.5左右,浸泡水与豆比例以(2.3~2.5)∶1,但要保证水能全部浸没大豆。浸泡时间夏季大约6~8h,冬季为14~16h,春、秋季为12~14h。使用设备有浸泡机或砌池等。

2.4 磨糊

磨糊是将浸泡好的大豆通过磨制使子叶组织破坏,以达到组织中的蛋白质、脂肪及营养物质充分游离出来,以便通过分离进行提取。磨制时需加入适量的水(最好是添加呈微碱性的软水,水温在60~80℃),添加量为干大豆重量的3.5~4倍。操作时应注意作到喂料均匀,添加水的入口应尽量靠近磨盘的进料口,同时应避免冲入时夹带空气而增加泡沫。磨制豆糊要求光滑、粗细适当,稀稠合适,先后均匀。使用设备有砂轮磨、分离式磨浆机、小钢磨及石磨等。

2.5 分离

分离是通过分离设备将豆糊分成豆浆和豆渣的过程。分离出来的豆渣一般要用水洗涤2~3次(在搅拌机中进行),并过滤,第1次分离离心机用80~100目,第2次、第3次用80目的尼龙网作为过滤网。前两次洗涤后分离得到的豆浆和头道浆混合使用,末次洗涤得到淡浆作为磨糊的添加水。洗涤用水量示不同产品适量添加。一般1kg大豆总加水量(指豆浆)16~20kg。在3次分离过程中,渣内蛋白率不得超过2.5%。使用设备有锥篮式离心机、卧式螺旋沉降分离机等。

2.6 煮浆

一般要求豆浆煮沸后,继续保持5min左右,即可使蛋白质充分变性。煮沸还起到消除青臭味,破坏大豆中的不良因子(如使皂角素被破坏,抗胰蛋白酶失去活性等),同时也起到灭菌的作用。豆浆在出锅时必须用80~100目的滤网过滤,清除混入浆内的微量杂质以及膨胀后的渣点。使用的设备有连续煮浆机及煮浆罐等。

2.7 点脑(又称点浆)、蹲脑及破脑(又称打花)

豆浆中蛋白质的热变性仅是保证蛋白质产生凝固的先决条件,在豆浆中加入适量凝固剂才能逐渐形成具有网络结构的凝胶体(俗称豆腐脑),此过程称为点脑。使用的凝固剂有石膏、卤水及葡萄糖内酯等。由于它们的特性各不相同,使用时要注意量及加入速度。

点脑后静止一定时间称为蹲脑。蹲脑是为了保证蛋白质与凝固剂能充分作用,促进凝胶体的形成。蹲脑时要停止搅动。为了有利于水分的排出,根据不同的制品要求需进行适当的破脑(即将脑打碎)。点脑使用点脑设备。

2.8 上箱、压榨、脱模

该工序是针对加工豆腐的,将适度破脑的豆腐脑注入模型或包布中造型,经过压榨脱水。压榨时间为15~20min,豆腐压成后即可脱模。压榨的目的是脱除多余水分。压榨时压力要逐渐加大以利脱水。该工序可用人工或豆腐成型机完成。

2.9 上脑、压榨、脱布、切块

该工序是针对加工豆腐干的。脑点成后,蹲脑10~15min后上脑,上脑时要边打脑边上脑,以保证制品质地均匀一致。通过压榨脱除多余水分。压榨时先轻后重,干湿适度,压榨时间为20~30min。下榨后趁热揭包脱布切块成型。该工序可用人工或切干机完成。

2.10 油炸

该工序是制作油炸豆制品而设的。根据不同规格质量要求,切成大小不同的形状,例如菱状、块状、条状和丁状。可分别炸成油豆腐、油豆腐条、油豆腐丁、炸素虾、兰花干和五香油豆腐等。油炸时,一般油温达150℃时豆腐坯下锅。有些油炸制品由于加入调味料,油温略有不同。油炸可用各种炸锅完成。

2.11 泼脑、传送、脱水、折叠、压榨和脱布

这些工序是为制作百叶而采用的。

3 关键装备

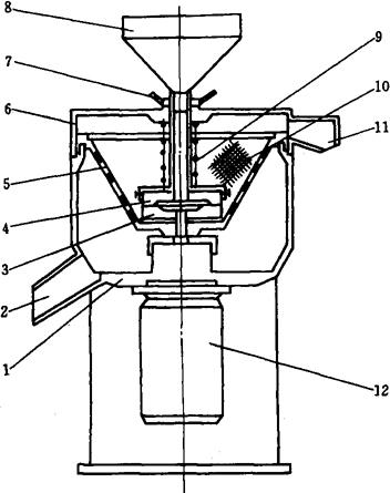
3.1 组合清选机(图1-14-2)

图1-14-2 组合清选机工作原理图

1-永久磁铁 2-筛架 3-偏心振动机构 4-排杂轴Ⅱ 5-电机 6-沉降室Ⅱ 7-吸风机 8-风门 9-沉降室Ⅰ 10-进料斗 11-垂直吸风道 12-排杂辊Ⅰ 13-压砣门 14-上层筛 15-下层筛 16-电机 17-偏心振动机构 18-风机 19-鱼鳞筛 20-机架

该机由风选装置、振动筛及去石机等组成。原料大豆进入机内进料斗10后经压砣门11流出。此时,相对密度小的杂质通过垂直吸风道11被吸入沉降室Ⅰ9,大杂沉降在室底部后被排杂辊Ⅰ12排出机外。细小灰尘通过风门8进入沉降室Ⅱ6进一步沉降后,灰尘被风机7送往旋风分离器收集。经风选后的大豆及重杂进入上层筛14筛面,筛除原料中的大杂。筛下物进入下层筛15筛面,筛除原料中的小杂。筛上物为大豆及并肩石等流入去石机的鱼鳞筛19的筛面中段,在筛理过程中并肩石沿筛面上升后排出机外,大豆则沿倾斜筛面下滑到达出料口时,金属物被永久磁铁1吸除,最后排出的是干净的大豆。

该机占地面积小,除杂效率高。

3.2 清洗设备

清洗的目的是除去粘附在大豆表皮上的泥尘等杂物。清洗设备有流槽式、振动式、旋流式及射流式水洗设备。

3.2.1 流槽式水洗设备 流槽式水洗设备工作原理是利用原料和杂物的相对密度不同,在水流的作用下使相对密度大的砂石及金属等杂物沉在凹沟中,而大豆随水流入贮罐(或池)。清洗结束后再由人工清掉凹沟中的杂物以便下次使用。流槽结构简单,易制造,成本低,但使用不方便,占地面积也较大,存在着泥尘不能有效清除的缺点。

3.2.2 振动式水洗机(图1-14-3) 振动式水洗机在清洗大豆时,大豆和水连续从槽的左端流入,在不断的振动过程中,相对密度大的砂石及金属等杂物下沉于槽底(清洗结束后人工打开排污阀8排出机外)。而大豆则在水的浪涌作用下,涌向出料段。出料段为一夹层结构,上层为一孔板6(或金属编织网),起滤水和支撑大豆作用。在振动力的作用下,大豆则在孔板上呈跳跃式前移,直至排出机外。底部为设有排污口7的集污水槽(与左端的水槽不联通),污水通过槽底的排污口7排出机外(此水可循环使用)。在出料段中间上方装有喷淋装置5,用清水将大豆冲洗干净。

图1-14-3 振动式水洗机工作原理图

1-电机 2-偏心振动机构 3-清洗槽 4-吊杆 5-喷淋装置 6-孔板 7-排污口 8-排污阀 9-机架

2.2.3 射流式清洗机(图1-14-4) 射流式清洗机的主要工作装置是射流泵。工作时,高压水以很高的流速从喷咀呈柱状喷出,将周围处于低压的水连同大豆一起吸入高速水流中,并一起进入扩散管(出水管)7,而后从回流管4返回清洗桶(桶体)3,或通过输送管5排出。

图1-14-4 射流式清洗机

1-射流泵 2-进水管 3-清洗桶体 4-回流管 5--输送管 6-三通球阀 7-扩散管(出水管) 8-孔板 9-排污口

其特点是结构简单、紧凑、没有运动件,但效率较低。由于在水力输送过程中大豆受高速水流的冲刷作用,大豆表皮的粘附物易清洗干净,且不损伤大豆,耗水也少。

3.3 磨糊设备

3.3.1 磨浆机(图1-14-5) 磨浆机按转动轴的安装方向,有卧式和立式两种。磨盘是主要工作部件,基本工作原理是借助于两个磨盘间的压力与两盘上的磨纹在相对运动时产生的挤压、磨擦及剪切等力的作用,而将物料磨碎。工作时,物料从进料斗1落到调节螺丝7上,通过固定磨盘4的中心孔进入与转动磨盘5之间的工作间隙(此间隙大小,可根据磨碎要求通过调节螺丝7进行调节。此间隙还可调大到作脱壳机使用)。物料磨碎后从出料口排出机外。喂料量可通过调节插门2进行调节。由于卧式磨浆机一般都带有强制喂入装置,因而它既可湿磨,也可进行干磨(作磨粉用)。立式的一般不带强制喂入装置,故仅作湿磨用。该机具有结构简单,造价低的特点。由于磨片铸造出来后不进行加工,因而精度低、噪音大。一般作粗磨较合适。磨盘的材料主要有天然石磨盘、钢磨盘、砂轮磨盘和陶瓷磨盘等。

图1-14-5 卧式磨浆机工作原理图

1-进料斗 2-插门 3-外壳 4-固定磨盘 5-转动磨盘 6-皮带轮 7-调节螺丝 8-调节手轮

3.3.2 分离式磨浆机(图1-14-6) 分离式磨浆机是将分离锥篮与立式砂轮磨的动砂轮组装在一起,同步旋转,以实现磨糊与浆渣分离一步完成。该机具有占地面积小及操作方便的特点。但由于受结构上的限制,设备的生产率一般在250kg/h以下。其主要工作原理与磨浆机相似。其不同处就在于豆糊不直接排出机外,而是落入与动磨盘同步高速旋转的分离锥篮下端,由于高速旋转而产生很大的离心力,使豆浆穿过绢网10和筛胆5的孔进入贮浆腔后从出浆口排出机外。豆渣在离心力分力(沿锥篮素线从小端指向大端的上升力,该分力远大于豆渣与绢网间的摩擦力)作用下,呈螺旋形上升,最后从锥篮的大端甩出后从排渣口排出机外。

图1-14-6 分离式磨浆机工作原理图

1-机体 2-出浆口 3-动砂轮 4-定砂轮 5-筛胆 6-盖 7-调节螺母 8-进料斗 9-压簧 10-绢网 11-出渣口 12-电机

3.4 分离设备

在豆制品行业使用的浆渣分离设备主要是锥篮式分离机,参见第1篇第16章第5节。卧式螺旋沉降分离机参见第1篇第15章第1节。

3.5 煮浆设备

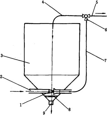
3.5.1 溢流式连续煮浆机(图1-14-7) 溢流式连续煮浆机目前国内供货的名称较杂,如连续煮浆罐、连续煮浆锅、连续煮浆器及阶梯式蒸煮锅等均属同类设备。其基本结构是将5~6只煮浆罐3,通过溢流管4串联在一起,每只小罐的进浆口在下部,出浆口在上部。每只罐接有蒸汽进管及流量调节阀9。罐底都装有1只余浆排放阀10。小罐的周围装有保温层。罐体为耐压结构,用不锈钢或铝合金制造,外壳及支架为钢件。各小罐的温度有温度计显示,出浆口有温度传感器5测温,但只能起报警作用,调控仍需人工操作。煮浆时,输浆泵12把豆浆输入第1只罐与蒸汽混合加温,浆满到溢流口时温度应达到设定值,过高或过低时则可通过蒸汽调节阀9改变蒸汽量。一般在输浆量及蒸汽压力稳定时,调好后基本上不需动。第1只罐满后即从溢流口经溢流管4进入下一只罐,这样逐级升温,出浆口的浆温应在95℃以上。从而达到煮浆的目的。由于逐级溢流,逐步升温,采用三保温措施,蒸汽耗量少,噪音和振动也小。

图1-14-7 溢流式连续煮浆机

1-生浆贮罐 2-进浆管 3-煮浆罐 4-溢流管 5-温度传感器 6-出浆管路 7-熟浆贮罐 8-放浆管路 9-蒸汽调节阀 10-余浆排放阀 11-蒸汽总阀 12-输浆泵

3.5.2 单罐煮浆锅 单罐属于间歇式煮浆,该类设备有敞口式及密封式两种。前者容量可大可小,后者由于属压力容器,因而容量一般较小,但卫生条件好。它们都是采用盘管上开小孔,喷蒸汽加热。

3.6 点脑机(图1-14-8)

图1-14-8 点脑机结构原理图

1-点脑桶 2-预贮桶翻倾装置 3-点脑桶翻倾装置 4-预贮桶 5-点脑桶移位装置 6-支架 7-机座 8-支撑托板

点脑机工作时,熟浆用泵定量输入预贮桶4,预贮桶翻倾装置2动作,将浆倒入点脑桶1后自动复位,并再次往桶内注入熟浆,以备下一桶用。点脑桶装浆后,移位装置5动作,将盛好浆的点脑桶移到第2工位即搅拌装置下方,此时往浆中加凝固剂并进行搅拌。与此同时预贮桶4又一次将浆倾倒进已进位的下一个空点脑桶内。点脑完后,移位装置又一次运作,将点脑桶移向下一个工位,周而复始地重复进行。离开点脑工位后,豆脑即进入蹲脑阶段,直至点脑桶转到与成型机对准,并将已点好的豆脑倾倒入成型机的型箱内。点脑桶的翻倾动作由点脑桶翻倾装置3完成。整机的动作由液压传动,自动程序控制。工作间隔约1min。

3.7 豆腐成型机(图1-14-9)

图1-14-9 豆腐成型机工作原理图

1-型箱 2-机体 3-液压装置 4-承压板 5-压头 6-托辊 7-型箱移位装置

豆腐成型机主要由液压装置3、型箱移位装置7及机体2构成。基本工作原理是,上好脑的型箱1,人工折好麻布并放入承压板4,在移箱装置7的作用下,型箱移到压头5正下方,液压装置3动作,推动活塞下伸,并通过承压板4将压力传递给豆脑,豆脑在压力作用下,水分透过麻布和型箱的孔隙,落入下面的汇集槽后,从排放口排出机外。每次移位前,活塞升起,定位后又下压。所加压力大小根据要求预先调好,整个压榨脱水过程是间歇式进行,直至型箱移出最后一个压力装置止。在移出压力装置后,人工取下承压板并揭开麻布后,自动移入翻盒机或人工翻盒。

3.8 切干机(图1-14-10)

图1-14-10 切干机示意图

1-摆杆机构 2-切刀装置 3-滚刀装置 4-机架 5-传送带 6-张紧辊 7-电机 8-中间传动装置 9-凸轮 10-偏心轮 11-主轴 12-连杆 13-棘轮

切干机是用于取代入工切割豆腐干的设备,它具有生产率高,切割后的成品形状大小均匀一致的特点。主轴11上的偏心轮10、连杆12将运动传递给摆杆机构1,通过棘爪带动棘轮13,从而实现传送带5和在其上面的豆腐干一起作间歇前进运动。每次的前移量大小,可通过调节摆杆的摆幅进行变化。豆腐干的纵向切断,是由滚刀装置3上的圆盘切刀来完成,切刀用不锈钢薄板制造,厚度在0.7mm左右。刀架上装有4组刀矩不同的圆盘刀排辊,处于最下部的刀排辊为工作刀排辊(选用哪一组是根据豆腐干的切制宽度而定),刀口轻压在传送带上,传送带运动时,依靠摩擦阻力带动刀排辊作相对滚动,圆盘刀将豆腐干纵向切断。豆腐干的横向切断,是切刀装置2上的切刀来完成。切刀的上下运动是由主轴11上的凸轮通过与切刀装置2连接的连杆实现。通过调整切刀与纵向的夹角,可得到不同棱角的制品。切刀切割豆腐干时,传送带停止不动。通过圆盘刀矩、切刀与纵向夹角的调整及传送带的不同进给量三者间的配合,可切制出几十种形状、大小不同的豆腐干制品。

3.9 百叶浇注折叠机(图1-14-11)

图1-14-11 百叶浇注折叠机

1-主动辊 2-传送带 3-变速箱 4-电机 5-上滤布 6-豆脑盒 7-下滤布 8-调节螺杆 9-从动辊 10-机架 11-托辊 12-曲柄 13-连杆 14-托车 15-轨道

百叶浇注折叠机工作时,在网式传送带2(用铜丝或不锈钢丝网制成的网带)上先铺下滤布7,在通过豆脑盒6下方时,浇注上一层厚度均匀一致的豆脑(层厚可根据产品百叶的厚度要求进行调节)。然后在豆脑上铺放上滤布5,在随传送带2前进中进行脱水,脱水长度在10m左右。经脱去大部分水分的豆脑,在上下滤布的夹持下,从传送带端部落到托车14上,托车在曲柄12与连杆13的驱动下作往复运动,完成折叠工序(有的机型的折叠工序,由与浇注机同步运动的折叠机完成)。折叠后连同托车送往压榨机(一般用油压机或螺旋压力机,前者工作平稳,用得较多)进行最后压榨脱水。

3.10 百叶揭皮机(图1-14-12)

图1-14-12 百叶揭皮机

1-传送带 2-机架 3-下毛刷辊 4-上毛刷辊 5-上支撑辊 6-下支撑辊支架 7-上驱动辊 8-上卷布辊 9-拉簧 10-摆臂 11-下卷布辊 12-下驱动辊 13-下支撑辊 14-拉簧 15-摆臂 16-电机

百叶揭皮机是用来将已压制好的百叶,从滤布上揭下来的专用设备。通过上毛刷4和下毛刷3分别将百叶与上布及下布分开,揭下的百叶落到传送带1上后送出机外。上布通过支撑辊5、上驱动辊7后反卷在上卷布辊8上。由拉簧9通过摆臂10,使上卷布辊始终压紧在上驱动辊上。并在相互间摩擦力的作用下,被驱动辊带着作反方向旋转,而实现上布被等速卷绕在卷布辊上。下布则通过下支撑辊13、下驱动辊12卷绕在下卷布辊11上。其工作原理与上布的卷绕相同。卷好的布辊连同布一起取下,再装到百叶浇注机上使用。

随便看

 

离鸟网收录3541549条中英文词条,其功能与新华字典、现代汉语词典、牛津高阶英汉词典等各类中英文词典类似,基本涵盖了全部常用中英文字词句的读音、释义及用法,是语言学习和写作的有利工具。

 

Copyright © 2004-2024 vtrois.com All Rights Reserved
更新时间:2026/4/8 0:58:11