网站首页  词典首页


请输入您要查询的字词:

 

字词 γ照相机
类别 中英文字词句释义及详细解析
释义
γ照相机

γ照相机

γ照相机是一种大型放射性核素成象装置,能显示和拍摄进入人体的放射性核素的分布图象。与扫描机相比,它没有机械扫描部分,成象所需时间很短(拍一帧图象仅需几十分之一秒),可自动连续拍摄照片,能显现核素分布的动态变化。在核医学领域中,主要用于心、肾、脑等器官的动态功能研究,及诊断脑、甲状腺、肝、肺、肾及骨胳等的肿瘤和其他病变。
γ照相机的组成 由探头及控制台两个基本部分组成。探头的外壳是一个铅屏蔽的筒,留有一个探测面(见图)。紧靠探测面安装着铅准直器。后面是一块NaI(Tl)晶体,其厚度一般为9~12mm,直径为300~500mm。晶体的另一面通过光导片与一个光电倍增管阵耦合。这个管阵由紧密排列的数十只光电倍增管构成。探头中还有一组坐标计算装置。控制台的基本部件有脉冲高度分析器、定标器、坐标电路及面板上的数码显示器、余辉监视器、照相示波器、光学照相机及各种操作开关等。


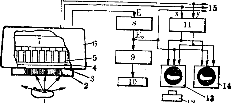
γ照相机原理示意图
1.放射源 2. 准直器 3. NaI (Tl) 4.光导 5. 光
电倍增管 6.探头 7. 坐标计算装置 8.脉冲高度分析
器 9.定标器 10. 数码显示器 11. 坐标电路 12. 照
相机 13.示波器 14.监视器 15.送往计算机


γ照相机显象过程 病人口服或静脉注射放射性核素标记化合物后,将探测面对着病人待观察部位。放射性核素发射的γ线,只有垂直于晶体平面的才能通过准直器上数以千计的平行小孔射到碘化钠晶体上,从而使到达晶体上的γ线的分布在几何位置上能准确地反映观察部位标记化合物的分布。当γ线射到晶体时,晶体上的被射点便产生闪烁光。闪烁光经光导片射到每个光电倍增管的光阴极上,随即在阳极上形成输出脉冲。但每个光电倍增管的脉冲幅度不一样。离闪烁光点越远的管子,幅度越小。所有光电倍增管的脉冲信号都进入一个高精度的坐标计算装置,进行加权求和及归一化处理。最后产生一个表征射入的γ线能量的能量脉冲E及一组与γ线能量无关,但与γ线入射部位有关的归一化坐标量x、y。这三个信号被送往控制台。x y信号经控制台的坐标电路进行采样、保持及放大,送给余辉监视器及照相示波器示波管的水平、垂直偏转板,决定在荧光屏的什么位置上重现出晶体上的这个闪烁光点。能量脉冲E经脉冲高度分析器中一定宽度的窗口,滤掉指定核素外的几乎所有光电信息,再送至定标器,以统计给定时间内积累的计数值由数码显示器显示出来。E信号还送至余辉监视器及照相示波器,作为触发信号使光点起辉。
当大量的γ线密集地进入探测面时,晶体上产生大量的闪烁光,形成一幅闪烁图象。电子线路实时地处理每个闪烁光点的信息,余辉监视器及照相示波器上便重现了这幅闪烁图象。由于被观察的脏器充满着放射性核素,这个脏器便在荧光屏上显影成象。闪烁图象上亮度的差异反映着核素密度的不同。人体的正常组织和肿瘤组织吸收核素示踪物的能力相差很大,在荧光屏上就能看到肿瘤的位置及大小。通常称为静态显象。γ照相机在临床使用时,更重要的是动态显象。例如当核素注入血管时,核素随着血液流动,流动通路上各位置的核素浓度也迅速发生改变,荧光屏上便能看到核素流动过程。当核素开始进入脏器时,脏器内核素积累,浓度逐渐提高,后又逐渐消退。这一过程在荧光屏上也能清楚地显示出来。观察心、脑及泌尿系统的动态过程,有可能发现这些脏器的功能障碍。连续拍照可得到脏器的动态照片,或用记录仪描绘出不同时间上核素在脏器内的积累曲线,并可进一步算出脏器的动态功能参数,如心室射血分数等。
现代的γ照相机都配有功能完善的计算机数据处理系统。它的主要任务是将图象信息采集到计算机中,进行数据平滑,使图象更清晰;提高图象显示的灰度层次或形成彩色图象;对图象的任一指定区域进行局部放大显示;在平面的脏器图象上显示出计数值的变化规律,对兴趣区的边缘和内部计数率的变化梯度作详细处理,给出有用的各种曲线;进行各种动态显示等。
γ照相机的主要技术指标
❶固有分辨率: 通常用坐标概率分布曲线的半高全宽度(FWHM)表示,一般为3~6mm;有时也用铅模(bar)宽度表示,一般为1.5~3mm;
❷灵敏度的均匀性: 指对一个均匀的平面放射源重现闪烁图象时,主要由探头的缺陷所造成的不均匀性,通常用探测面上各小区灵敏度相对差异的百分数表示,一般为±5%左右;
❸最大计数率: 指每秒重现闪烁点的能力,一般为10~20万cps;
❹线性度: 指重现直线性放射源的闪烁图象时的线性失真,一般为1~3%。
除上述γ照相机外,还有一种正电子型照相机。它由两个相对安装的探头,分别接收某些核素正电子湮没形成的一对光子。它不需要铅准直器,具有所谓“电子”准直的效能,实现对放射源的精确定位,避免了铅准直器使探头灵敏度及分辨率显著降低的缺点。但这种照相机必须与加速器生产的正电子发射核素配合使用。
γ照相机的发展趋势
❶更多地依赖计算机处理图象信息,以得到更好的照片,并进一步缩小体积,降低造价。计算机的软件功能也在迅速发展,能存入各种类型的心脏、肺、肾等脏器的数学模型,将病人的闪烁图象信息与之对比,分析出脏器缺陷的性质、部位及程度。计算机还可以自动地改善数学模型的质量,使判断更精确;
❷轻便小型化。大型固定式的装置对行动不便的病人无法使用。于是生产了移动式γ照相机。这种γ照相机只适用200keV以下的核素。全套设备装在小车上,可推到病床边使用,操作轻便;
❸目前还在探索进一步提高γ照相机灵敏度的途径,以减少病人注入放射性药物的剂量,缩短成象时间;
❹数字式照相机。将光电倍增管的脉冲信号经模数转换,使信息数字化,送计算机处理后,重建图象。这种计算机最大计数率可达50万cps,且分辨率好,图象清晰。
☚ 扫描机   发射计算机断层仪 ☛
00018653
随便看

 

离鸟网收录3541549条中英文词条,其功能与新华字典、现代汉语词典、牛津高阶英汉词典等各类中英文词典类似,基本涵盖了全部常用中英文字词句的读音、释义及用法,是语言学习和写作的有利工具。

 

Copyright © 2004-2024 vtrois.com All Rights Reserved
更新时间:2026/4/9 5:24:38