比翼线虫病syngamiasis比翼属(Syngamus)线虫寄生于鸡、火鸡、鹅等家禽和多种野禽的气管引起的卡他性气管炎。呈地方性流行。患禽张口呼吸,头左右摇甩,又称张口虫病。虫体呈红色,头端大,呈浅杯形,雌雄虫永成交配状态,两个虫体构成“Y”字形。常见种为气管比翼线虫〔Syngamus trachea(Montagu,1811)von Siebold,1836〕,雄虫长2~4.1 mm,雌虫长9~26 mm。直接发育。感染途径可以有3种: ❶鸡吞食感染性虫卵; ❷吞食孵出的感染幼虫; ❸感染性虫卵或幼虫被蚯蚓、蛞蝓等贮藏宿主吞食,鸡吞食含幼虫的贮藏宿主。主要危害雏鸡,其特异性症状为伸颈、张嘴呼吸、头左右摇甩。初期患禽消瘦,精神不振,口内充满多泡沫的唾液;后期呼吸困难,常窒息而死。根据特异性症状,检查喉及气管部有无虫体或粪便检查虫卵即可作出判断。可用噻苯唑、甲苯唑或苯硫咪唑等药物驱虫。平时宜及时清扫粪便、发酵消毒;勿在病鸡粪污染的牧地上给食;禽舍和运动场应保持干燥,定期消毒。 
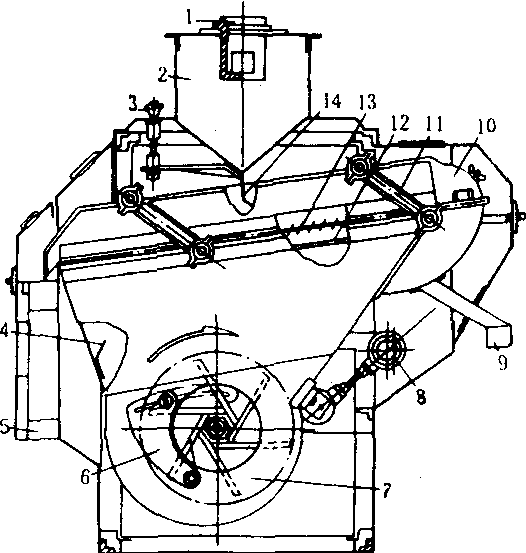
吹式比重去石机 1.进料口 2.进料斗 3.进料调节手轮 4. 导风板 5. 出料口 6.进风调节装置 7.风机 8. 偏心传动机构 9. 出石口 10.精选室 11. 吊杆 12. 匀风板 13.去石筛面 14. 缓冲匀流板 |